Главная Юзердоски Каталог Трекер NSFW Настройки

Автомобили

Ответить в тред Ответить в тред
Check this out!
<<
Назад | Вниз | Каталог | Обновить | Автообновление | 384 99 152
BMW-Тред #64 bmw Аноним 24/11/25 Пнд 20:20:37 6704953 1
1.jpg 226Кб, 1280x960
1280x960
2.jpg 404Кб, 1920x1439
1920x1439
3.jpg 106Кб, 640x471
640x471
4.mp4 2916Кб, 640x360, 00:01:04
640x360
Крутим в отсечку, стартуем с буксом со светофора, резко перестраиваемся, выжимаем максималку на трассе. А между делом слушаем Гио Пику, пересматриваем Бумер и Жмурки; мечтаем о ламповой е34 в идеале.

Предыдущий: https://2ch.hk/au/res/6616015.html

Актуальный список блатных владельцев BMW автача:
>1 F20 116i
>1 F21 M135i
>1 F21 116i 2013
>3 E36 323
>3 E46 330xi 2002
>3 E46 320i
>3 E46 330d
>3 E46 m52b25tu
>3 E90 325 2007
>3 E90 n52b25
>3 E90 320d
>3 E90 320i
>3 F30 320i xdrive
>3 G30 330i
>4 F32 2.0d xdrive
>4 F33 430i
>4 F36 428xi
>5 Е28 m20b20
>5 Е34 m43b18
>5 E34 m20b25
>5 E34 m50b20 1991
>5 E34 m50b20tu
>5 E34 m50b25tu
>5 E34 524td
>5 E39 1999
>5 E39 2.5
>5 E60 3.0d
>5 E60 3.0i
>5 F07 535d
>5 F10 523 2010
>5 F10 2.0d
>5 G30 2.0d xdrive
>5 G31 530d
>6 E63 635d
>6 F13 650i
>7 E32 730i
>7 E65 3.0d
>7 F02 750li

>X3 F25 3.0d xdrive
>X3 F25 2.0d xdrive
>X3 F25 n20 xdrive
>X3 G01 20i
>X3 G01 20d xdrive
>X3 f25 2.0d
>X4 F26 2015 xdrive
>X4 F26 3.0d xdrive
>X4 G02 m40d
>X5 E70 4.8i xdrive
>X5 F15 25d n57 xdrive
>X5 G05 30d
>X6 3.5d xdrive
Аноним 25/11/25 Втр 13:15:22 6705213 2
17639867459722.jpg 7307Кб, 4080x3072
4080x3072
17639867459451.jpg 6769Кб, 4080x3072
4080x3072
17639861792240.jpg 3960Кб, 3072x4080
3072x4080
17639867459160.jpg 6021Кб, 4080x3072
4080x3072
Свежеобладатель некрухи с прошлого треда. Машина практически в идеале для своих лет. Купил я её за 500, какойто хуй с бнв клуба случайно на улице увидел, 800 предлагал. Продавать не хочу. Нужен совет, обновить краску или родную оставить. Сколы в глаза бросаются.
Аноним 25/11/25 Втр 13:42:25 6705236 3
>>6705213
Для российской е36 выглядет убеопиздато.
Аноним 25/11/25 Втр 14:01:32 6705242 4
>>6705213
Ради сколов я бы обливать целиком не стал, местами подремонтируй, но пока рыжиками не пойдет, я бы не стал заводское покрытие фаршмачить.
Аноним 25/11/25 Втр 14:26:39 6705256 5
1764069984224.mp4 39516Кб, 720x1280, 00:02:50
720x1280
Аноним 25/11/25 Втр 15:09:10 6705278 6
>>6705213
Подкрась сколы, если небольшие. Если фатально до металла - перекрашивать.
Аноним 25/11/25 Втр 16:50:11 6705331 7
>>6705242
Как этике верно будто социальной здравому название придумавший такое его обучение и умными пытался уж смыслу словами выпендриться.
Аноним 25/11/25 Втр 18:21:35 6705378 8
>>6705256
Скам для развода страховой, бэха видимо уже была уебаная, мотор с задирами
Аноним 25/11/25 Втр 19:51:11 6705419 9
image.png 206Кб, 430x430
430x430
>>6705213
Сбоку сфотай, ебать. Или теперь спрятал ее ото всех?
Аноним 25/11/25 Втр 23:51:16 6705637 10
>>6704953 (OP)
Что насчет Бмв х5й? думаю для зимы полнопривад или гранчироке как у Ефремова?
Аноним 26/11/25 Срд 00:01:23 6705641 11
м54в30 как двигатель ?
Аноним 26/11/25 Срд 00:25:08 6705652 12
>>6705637
х5 хорошая машина, за чирка ничего не скажу
>>6705641
охуенный
Аноним 27/11/25 Чтв 13:14:49 6706335 13
Привет братва, тред оказывается уехал от меня как бумер эм 6-ой перекатился, посему заного сделаю запрос:
У каких бумеров по вашему самый приятный отклик на педаль газа. Без экологической заминки так сказать. Желательно назвать связку коробка - двигатель. Я сам ездил на 8хп и н47 - не понравилось, так же ездил 3л дизель 8 хп - тоже не особо резко(но тянет как паровоз конечно). Так же ездил на 8хп и н20 - чуть шустрее чем на дизеле. Интересуют машины от 2004 года по 2020
Так же что можете сказать про такую малышку?
https://auto.ru/cars/used/sale/bmw/1er/1128119681-ac590fb4/
Аноним 27/11/25 Чтв 16:29:11 6706485 14
>>6706335
>Без экологической заминки
>Интересуют машины от 2004
Все ДВС, соответствующие Евро3 (новее сентября 1998), будут с электронной педалью и задержкой.
Из современных - можно взять гибридную бэху. У нее электромотор будет компенсировать эту задержку.
Либо брать чистую электричку.
Аноним 27/11/25 Чтв 17:29:34 6706536 15
Аноним 27/11/25 Чтв 19:30:43 6706621 16
>>6706485
А прошитие под евро 2 не поможет в таком случае как я понимаю?
Аноним 27/11/25 Чтв 19:39:52 6706624 17
>>6706621
Как прошивка поможет отсутствию прямой связи между педалью и заслонкой? Тут выше шутка про езч не такая уж и шутка.
Аноним 27/11/25 Чтв 20:34:21 6706662 18
>>6706485
>новее сентября 1998
Я всегда говорил что некрухи наше всё этот год пик развития автомобилей.
Чёж теперь х5й 2003 года останется в мечтах
Аноним 27/11/25 Чтв 20:43:52 6706667 19
>>6706621
Такая прошивка маскирует ошибки по задним лямбдам и передает в эбу чуть большие значения при нажатии электронной педали (как и джеттер). Задержку она не убирает, алгоритм управления двигателем не меняет.

У M52TU/M54 на низких оборотах ваносы стоят с сильным перекрытием, дроссельная заслонка закрыта и наполнение цилиндров идет через турбулизатор. Никакая прошивка "под Евро2" не меняет алгоритм ваносов и не отключает турбулизатор.

Помимо этого у M50/M50TU/M52 реализован пост-впрыск.
По стандарту, при резком нажатии на газ ЭБУ пересчитывает параметры и добавляет бензин только в начале следующего цикла. Те цилиндры, в которых клапан закрывался, успевают получить дополнительный воздух, но не бензин (форсунки открываются еще по старому циклу). Получается обедненная смесь и заминка в разгоне двигателя.
При пост-впрыске ЭБУ, получая сигнал ДПДЗ о резком открытии дросселя, сразу же херачит бензином в закрывающийся клапан. Обеднения не происходит, провала по оборотам нет.

Пост-впрыск убрали, потому что бензин не успевал полностью сгореть и увеличивалась токсичность выхлопа. Никакая прошивка M54 не вернет его обратно, потому что его тупо нет в алгоритме ЭБУ.

Знаемский чиповал свой M54B30 и честно написал, что супер-правильный чип от супер-правильных людей экозадержку не убрал.
Объективности ради надо сказать, что M54 заметно лучше по отзывчивости, чем последующий N52.
Аноним 27/11/25 Чтв 22:49:47 6706758 20
>>6706485
>Все ДВС, соответствующие Евро3 (новее сентября 1998), будут с электронной педалью и задержкой.
Эм, а нахуя на семерке с инжектором и евро 3 тросик идет на заслонку тогда? Я понимаю, что речь про бнв - интересует на кой черт надо было егаз делать, если можно без него видимо
Аноним 28/11/25 Птн 00:39:17 6706798 21
>>6706758
Допустим, там реально механический дроссель, а не как на M52TU, когда от педали идет трос на дроссель, но дальше он цепляется на потенциометр, а не на ось заслонки.

Токсичность проверяется на беговых барабанах, сопротивление которых настраивается в зависимости от массы авто. Может, легкая жига проходит тест, а тяжелой бмв это дается сложнее.
Аноним 28/11/25 Птн 01:27:50 6706826 22
>>6706798
А на обычном м52 все-таки полноценный механический дроссель? Так-то мотор вроде как м50ту, разве что блок алюминька, да навеска с проводкой и мозгами другие, но это не точно.
езч-кун
Аноним 28/11/25 Птн 02:14:48 6706843 23
image 184Кб, 1024x1024
1024x1024
>>6706335
>У каких бумеров по вашему самый приятный отклик на педаль газа.
У грантущька на 21126 шеснарющьке моторущьке и жаткущьке JF414E автоматущьке.
Аноним 28/11/25 Птн 11:10:40 6706927 24
Аноним 28/11/25 Птн 12:08:36 6706951 25
>>6706335
>У каких бумеров по вашему самый приятный отклик на педаль газа. Без экологической заминки так сказать. Желательно назвать связку коробка - двигатель.
Самое быстрое что видел - М20В30 на трёх Веберах и с МКПП. Там экологической заминки в принципе нет.
Аноним 30/11/25 Вск 07:35:54 6708322 26
>>6706826
На М52 другой впускной коллектор и другой ЭБУ. Вроде как М50ТУБ25 так вообще на Боше работает, вот мне там интересно за логику работы.
У меня кстати сложилось стойкое ощущение, что М43 получше на педаль реагировал, чем М52, хоть и не ехал никуда. Вообще не знаю, одному ли мне так не повезло, я кого из знакомых не спрашиваю про их бнв, ни у кого не было обычного М52
Аноним 01/12/25 Пнд 11:05:37 6709295 27
Трек.mp4 21438Кб, 1280x720, 00:00:58
1280x720
Ну что вы карбюраторные, так и ебете в гаражах свои ведра?
Сколько тут на ремонт надо Аноним 04/12/25 Чтв 12:33:49 6711493 28
gen1200.jpg 169Кб, 960x1280
960x1280
Привет бмвач! Насколько в максимальном пределе рублей я могу встрять, если этот аппарат https://auto.drom.ru/novosibirsk/bmw/x5/195056421.html
заглохнет сразу после передачи денег продавцу?
Аноним 04/12/25 Чтв 12:47:37 6711494 29
>>6709295
Там бабка за рулем?
Аноним 04/12/25 Чтв 13:26:46 6711521 30
>>6709295
Там че на трассе тоже ограничитель 60?
Аноним 04/12/25 Чтв 13:36:10 6711528 31
>>6711493
На больше чем он стоит.
Аноним 04/12/25 Чтв 13:49:29 6711534 32
>>6711528
разрешите поподробнее:
Например сколько будет стоить
1. капиталочка двигла
2. Капиталочка акпп
3. ремонт подвески, разъебанной на 50%
Аноним 04/12/25 Чтв 13:53:29 6711538 33
>>6711534
Тебе бы самому надо ачко откапиталить
Аноним 04/12/25 Чтв 15:04:37 6711585 34
>>6711538
злобный малолетний обиженный карлик, не пиши мне больше!
Аноним 04/12/25 Чтв 15:57:14 6711616 35
image 1002Кб, 1000x942
1000x942
>>6711538
>Тебе бы самому надо ачко откапиталить
Аноним 04/12/25 Чтв 16:00:43 6711623 36
image 223Кб, 1919x1079
1919x1079
>>6711585
>злобный малолетний обиженный карлик
ЗА ЭТО
НЕОСИЛЯТОР
НИКОГДА
НЕ ПРОСТИТ ВАС
Аноним 04/12/25 Чтв 17:22:43 6711713 37
>>6711493
Так продиагностируй его, покатайся, в сервис загони.
>>6711534
Мотор и прындл наверно есть смысл свапать, а не капиталить, цены уже на авито можешь пошмонать. Подвеска это уже так, не сильно дорогая, относительно всей машины. Ну и если та машина труп, лучше сразу денег докинь и возьми не труп, чем с этой ебаться.
Аноним 04/12/25 Чтв 17:30:29 6711720 38
>>6711616
Коричневый, ты как в бемельве трэд залез? Через жопу?
Аноним 04/12/25 Чтв 18:33:20 6711764 39
Шпана.mp4 19765Кб, 1280x960, 00:03:26
1280x960
>>6705213
>самовар в гараже
Туляк?
Аноним 04/12/25 Чтв 19:46:16 6711850 40
>>6711713
Я а глазами захлопал пправда.
Аноним 06/12/25 Суб 17:02:58 6713200 41
1.jpg 138Кб, 661x829
661x829
2.jpg 206Кб, 1105x772
1105x772
3.jpg 190Кб, 1104x777
1104x777
photo5305311877[...].jpg 277Кб, 960x1280
960x1280
Всем привет
Есть желание купить себе простенькую и недорогую машину на работу(3км) и в магазин ездить - пробеги у меня крошечные, искал всякое и наткнулся на BMW 118 2004г.в на двухлитровом моторе. Ради смеха посмотрел ее вживую - ровненькая, аккуратная, заводится и едет, есть толчки при переключении коробки когда стоишь на месте. Течет масло с верху мотора, нет полицейской шильды и фара потеет левая и машина после града. Продают перепуки в комисе(типа салона).
BMW никогда не владел, особых предпочтений в марках автомобилей не имею, ездил всегда на простых и недорогих машинах, как бы едет и едет. Вообще идея была купить тачку которая максимально простая и беспроблемная, а тут думаю учудить и взять что-то интересное.
Стоит вообще такое брать? Сильно оно может трахнуть мой карман? Есть конечно пару тысяч евро на непредвиденные расходы, но лучше их не тратить.
Могу скинуть ссылку на обьявление если в этом есть смысл.
Аноним 06/12/25 Суб 17:48:43 6713262 42
>>6706335
У бнв е9х с серватроником.
Аноним 06/12/25 Суб 17:51:00 6713266 43
>>6713200
Беги нахуй оттудова, без шуток.
Аноним 06/12/25 Суб 18:05:34 6713288 44
>>6706843
Двачую, лучше любой бнв.
Аноним 06/12/25 Суб 18:20:21 6713304 45
Господа, ездил всю жизнь на переднем приводе. Если пересяду на задний с шипованой резиной - я зимой в условиях Подмосковья охуею и прокляну всё, или разница в стабильности недрамматична?
Аноним 06/12/25 Суб 18:46:48 6713322 46
>>6705256
Ну и где парт ту ёпта? Так постят только мудаки.
Аноним 06/12/25 Суб 19:17:48 6713341 47
>>6713304
Если машина 2010+ и на брендовой шине, то нет. И лучше на липучке. Есть малюнький нюанс - трогаться при руле прямо и уже потом выворачивать, иначе задок не толкнет машину.
В целом задний веселее и машина тише и приятнее
Аноним 06/12/25 Суб 19:20:49 6713342 48
>>6713304
Смотря как ездить же. Деды вон всю жизнь ездили на заднеприводном совкопроме с говнорезиной
Аноним 06/12/25 Суб 19:49:12 6713351 49
>>6713262
это же про руль вроде
Аноним 07/12/25 Вск 01:42:59 6713502 50
image.png 1096Кб, 900x649
900x649
Кто на взорванной е34 двигается?
У ОПа не было денег на бензин и он поставил газ?
Аноним 07/12/25 Вск 12:11:02 6713641 51
>>6713304
Охуеешь в горку заезжать. А я охуею таких как ты объезжать.
Мимо на Ситроене
Аноним 07/12/25 Вск 12:14:06 6713644 52
>>6713341
И застревает в каждой колее зимой - АХУЕННА! Я СКАЗАЛ!
Я бы полный привод советовал, если уж на бмв потянуло.
С другой стороны, снегопады в Мск я вижу не часто, но когда они случаются - то пизда джигурды: стоят ёбаные грузобляди во всех рядах, либо заднеприводные раскорячиваются. И объезжать их приходится по встречке (если есть возможность).
Аноним 07/12/25 Вск 12:36:07 6713671 53
>>6713304
Если задний редуктор с блоком, то не хуже обычного переднего гребет. К слову с блоком даже многие е34 шли, а уж более свежие и подавно.
Аноним 07/12/25 Вск 17:18:46 6714012 54
>>6713671
>Если задний редуктор с блоком, то не хуже обычного переднего гребет
Если передний хотя бы с антибуксом, и тем более с блокировкой, хоть бы и электронной, то уже хуже. Нужно понимать, что могут быть сложности. И причин тут 2: менее нагруженный зад, по сравнению с традиционной переднеприводной развесовкой и отсутствие управления поворотом на ведущей оси. И это может доставить немало проблем. Потому ЯЩИТАЮ, что з/п может быть неплох в нормальных условиях, но пасует в сложных. А по поводу "как деды" ездили: мой отец в 21013 возил с собой пару мешков песка и керамзит в багажнике, песок для затяжеления зада, а керамзит - подсыпать под колёса если встрял.
Аноним 07/12/25 Вск 20:38:52 6714234 55
2chhk2022-11-24[...].gif 1681Кб, 221x244
221x244
>>6713641
Попробуй как-нибудь тянуть свой ситроен за веревку и толкать сзади. Для понимания привода, что легче тянуть или толкать. Тупой долюоеб.
Аноним 07/12/25 Вск 21:40:34 6714324 56
>>6713304
Если задний привод со свободным дифференциалом и без электроники - охуеешь и проклянешь. У переднеприводника решает развесовка 60:40.

На БМВ до Е34 включительно предлагался самоблок (ASC предлагался как опция на поздних машинах).

Начиная с Е39 ставится электронная блокировка дифференциала, схватывающая тормозами буксующее колесо (ASC, которая позже вошла в DSC).
Аноним 07/12/25 Вск 22:28:17 6714391 57
>>6714324
Это все теория. На практике современные тачки очень низкие поэтому если снега прям пиздец дохуя ты на своей рио сядешь на брюхо и передний привод тебя не спасет, а если снега не дохуя то и на заднем проедешь. Куколдовер уже будет обладать некоторым преимуществом.
Аноним 07/12/25 Вск 22:43:00 6714401 58
>>6714391
На практике полуседан по нечищенным провинциальным дворам едет заметно увереннее Е34.
Аноним 08/12/25 Пнд 05:16:44 6714500 59
>>6714012
>Если передний хотя бы с антибуксом, и тем более с блокировкой, хоть бы и электронной, то уже хуже
Если бы ирл попробовал все эти антибуксы, такой хуйни не написал бы. Там мотор тупо тянуть перестает, вот тебе и антибукс. А блокировок там нет нихуя.
Какие-то маняпричины блядь, зад не нагружен и пр, у тебя антибукс заведомо уебищное говно, а блокировка отсутствует, нахуй ты с дивана что-то рассуждать пытаешься?
Аноним 08/12/25 Пнд 10:59:45 6714583 60
>>6714500
>Если бы ирл попробовал все эти антибуксы, такой хуйни не написал бы. Там мотор тупо тянуть перестает
Вообще-то, буксующее колесо подтормаживается, так что сам хуйню не пиши.
Аноним 08/12/25 Пнд 13:09:17 6714707 61
>>6714583
Буксующее подтормаживается, а второе вообще на месте стоит, а блокировка в принципе отсутствует; охуенчик.
Манятеоретик, ты опять обосрался.
Аноним 08/12/25 Пнд 14:10:10 6714758 62
>>6714707
Буксующее будет тормозиться до тех пор пока второе колесо не закрутится.
Аноним 08/12/25 Пнд 14:16:12 6714763 63
>>6714707
>Буксующее подтормаживается, а второе вообще на месте стоит
Нахуя ты сам придумываешь логику антипробуксовочной системы, не имеющую отношения к реальности? Ты ебанутый?
Вот как это работает в реальности: https://youtu.be/VVAb7qKM8QE?si=QkIIt9CSQYwYu-hq&t=1638
Аноним 08/12/25 Пнд 21:32:23 6715112 64
>>6714234
Подпись курсивом ставить лучше. А для тупых долбоёбов я написал:
>>6714012
>менее нагруженный зад, по сравнению с традиционной переднеприводной развесовкой
У заднеприводных авто чаще всего нагрузка сзади около 50% веса, а у переднеприводных на переднюю ось около 60%, что даёт неплохой буст по сцеплению. А твои "тянуть или толкать" - бред неуча (тупого долбоёба твоими словами), не знающего физику. Сила не изменится. Если ты намекал на динамическую загрузку осей, то это имеет отношение только к большим ускорениям, а не снегу или грязи. На наклонной поверхности угол слишком невелик, чтобы загрузка задней оси существенно изменилась.
Аноним 08/12/25 Пнд 21:51:34 6715123 65
>>6714758
>>6714763
В маняроликах все прекрасно, а ирл как бы пред выдернуть, да с буксом ходом чтобы проскочить.
Аноним 08/12/25 Пнд 23:35:34 6715175 66
17539744905920.jpg 78Кб, 564x564
564x564
>>6715112
Как на вкус французский хуй, тупой долбоеб? Физикой своей, направь хуй негра в свое развальцованое очко, тупорылая обрыга и слушай что тебе дяди говорят.
Аноним 09/12/25 Втр 00:52:20 6715220 67
IMG1792.jpeg 990Кб, 1179x2263
1179x2263
Что за 5.5-6 можно взять из бмв, надежное и большое для семьи? На х7 не хватит, как понимаю, х5 сильно старый будет в эти деньги?
В чем разница х20/х30/х40d? Доналоговые редкие и/или не котируются? Калининградские уже все продали?
До этого бмв не было, но у нас на работе популярная тачка
Аноним 09/12/25 Втр 07:12:37 6715257 68
>>6715175
Хули порвался-то, "Тупой долюоеб"?
>>6715123
>как бы пред выдернуть, да с буксом ходом чтобы проскочить
У тебя что с речью? Дисграфия?
>>6715220
>из бмв, надежное
А такое ещё осталось? По опыту одного знакомого мужика, он из сервисов не вылезал на X6: за 1-й год наебнулась коробка, через 6 лет мотор "лёг". Нахуя это "счастье"? Может быть дизельные моторы у них нормальные - хз.
Аноним 09/12/25 Втр 07:37:52 6715261 69
17647866064700.jpg 88Кб, 600x338
600x338
Аноним 10/12/25 Срд 02:18:35 6715918 70
>>6713200
>сть конечно пару тысяч евро
эквестриане на евро перешли?
акп-ремонт
>>6715220
бмв ломучие все страшно
поэтому куплю хочу субару
Аноним 10/12/25 Срд 11:37:26 6716044 71
>>6715257
Нахуй ты, залупа мордоприводная приперся высератся в тред, марки машины, которой у тебя нткогда не будет.
>По опыту одного знакомого мужика, он из сервисов не вылезал
По опыту одного знакомого, ебаря твоей мамаши обоссаной, короче ни о чем она.
Аноним 10/12/25 Срд 17:54:04 6716303 72
>>6711521
>>6711494
Вы совсем глаза отработкой залили? Там же тупо в конце первого быстрого участка 187 км/ч по джпс. Оно на регистраторе с лагом отображается.
Время круга 1:20. Медленен м2 но сильно быстрее gti, 330 и всяких миат с супрами
Аноним 10/12/25 Срд 20:30:04 6716378 73
>>6715220
>х5 сильно старый будет в эти деньги?
4-5 лет, с пробегом 100ккм+.
Вообще это надёжное авто, рестайл по технике точно такой же, но салон хуже, лол. Содержание стоит денег, хотя и не таких, как думают дауны на китайцах.
У тебя выбор из двух моторов - вершины сегодняшнего моторостроения БМВ и по-совместительству мирового моторостроения:
Дизель В57
- 30d - 249 лс, доналоговый Калининград/256-265 налоговый европеец или Корея
- 40d - 340 лс - европеец или Корея, есть мочевина
- 50d - 400 лс - тот же мотор, но на максималках.

Бензин В58
- 40i - 340 лс, топовый топ, JZ нашего времени, лучший мотор, созданный человечеством, потому что я сама на таком езжу, есть Калининград, Европа, Корея, Американцы (последних не бери - там есть нюансы с прошивками самого авто).

У дизеля бывают заморочки с сажевым и ЕГР, не критично, но надо следить, доналоговый на 249 лс ликвиден и все его любят из-за этого, а в остальном смысла брать дизель нет никакого, не то чтобы он плохой, но В58 лучше во всём.

Только у Х5 задний диван не самый удобный и не регулируется положение спинки, так что если ребёнок не один или он уже не маленький, то Х7 предпочтительней. Ну это уже придирки, просто имей в виду.
Аноним 11/12/25 Чтв 20:58:01 6717094 74
Какиой прикольный бумер я могу купить до 2кк, на ватомате, что бы хоть какой-то кайф дарил. Движки 1,6 не предлагать. Ну и что бы без трусиков меня не оставил офк. Ездить планирую не часто, пробег приблизительно 8-10к в год
Аноним 12/12/25 Птн 09:28:07 6717364 75
чс.mp4 11917Кб, 1280x720, 00:02:39
1280x720
>>6717094
Берешь за 1.5 ухоженный, оставшиеся 0.5 на доводку и непредвиденные расходы.
Аноним 12/12/25 Птн 10:17:38 6717381 76
>>6717364
Не нужна мне такая...
Аноним 12/12/25 Птн 10:53:06 6717398 77
Аноним 12/12/25 Птн 17:31:14 6717778 78
.jpg 102Кб, 804x799
804x799
Аноним 12/12/25 Птн 18:07:42 6717801 79
Немцехлам сблев ебаный
Аноним 12/12/25 Птн 20:14:31 6717854 80
>>6717778
90 процентов владельцев старья бумерского просто делают фоточки и видосики, и ездят в сервис время от времени, когда зпэшка падает
Аноним 12/12/25 Птн 20:17:11 6717856 81
>>6717854
Бу бэхи понадежнее некротазов будут
Аноним 12/12/25 Птн 20:30:46 6717863 82
>>6717856
Да, но в починке все равно подороже тазика будет
12/12/25 Птн 22:43:28 6717923 83
{8B6FCD11-F6D0-[...].png 1385Кб, 678x1010
678x1010
>>6716378
Спасибо, чуть понятнее стало, но только даже х5 30d стоит 7+ из-за налогов мб еще цена выше, х7 лучше вообще даже не открывать.

Если у х5 такие проблемки с задним рядом, то крашенный вообще лох и идет нахуй, получается.

Не судьба мне на бмв поездить, мб под сраку лет кабрик куплю кукаой нибудь
Аноним 13/12/25 Суб 15:16:45 6718212 84
>>6717923
>х5 30d стоит 7+
С пробегом больше 100ккм будет дешевле.

>Если у х5 такие проблемки с задним рядом
Ты не понял, у Х5 норм диван, но в сравнении с Х7 сильно уступает. И то, что нет разных степеней наклона, которые есть в старом японце, мне тоже странно. Лично мне кажется, что угол спинки не самый удобный, но пассажиры не жалуются.

>крашенный
Это кто, твой протык?

>под сраку лет кабрик куплю кукаой нибудь
Шизик без ву, ты?
Аноним 15/12/25 Пнд 10:04:03 6719293 85
Аноним 15/12/25 Пнд 10:09:20 6719296 86
.MP4 5817Кб, 352x640, 00:01:05
352x640
Аноним 15/12/25 Пнд 11:39:13 6719352 87
автаны, бнв х3 г01 2020 года с пробегом 40к, но на правом руле за 3 ляма. Норм или стрем?
Аноним 15/12/25 Пнд 14:56:37 6719510 88
>>6718212
Там и проблем будет больше на таком пробеге. Ну и это низ рынка с пробегами 150+.
В/у есть, протыка нет, с температурой псот писал.
Аноним 15/12/25 Пнд 15:36:20 6719553 89
>>6713341
>>6713671
>>6714324
Ну я подразумевал 3/5 series в поголениях F или G.
Там есть в стоке эти облегчающие зимнюю эксплуатацию технологии, которые вы упоминали?
Аноним 15/12/25 Пнд 15:38:35 6719556 90
>>6715220
>у нас на работе популярная тачка
Интересный критерий...
Аноним 15/12/25 Пнд 16:26:55 6719612 91
IMG1806.jpeg 39Кб, 455x392
455x392
>>6719556
Тысячи мух не будут ошибаться, правда же?
Аноним 15/12/25 Пнд 16:41:09 6719625 92
>>6719553
Да.
ASC с имитацией блокировки дифа там есть всегда.
Аноним 15/12/25 Пнд 19:43:54 6719786 93
546556.mp4 4165Кб, 720x720, 00:00:51
720x720
БНВшники, сделал про вас мемес.

мимо прулеёб
Аноним 15/12/25 Пнд 22:43:17 6719902 94
>>6719296
Потому они и стали пидорасами.
Аноним 16/12/25 Втр 19:17:11 6720453 95
bmw-e65-745ia.jpg 164Кб, 1575x1050
1575x1050
>>6719296
Заметил, что только у бмв армия хейтеров, кучи видео создают, про таких сяких бмвшников и бмв, ни ку одноц марки нет такого. Получается что бмв заслуженно лучшая тачка, раз столько внимания.
Аноним 16/12/25 Втр 20:22:35 6720501 96
>>6719786
А ведь по итогу Мурк к этому и пришел. Купил себе китайца и больше не парится, ведя скуфскую жизнь на даче.
Аноним 16/12/25 Втр 20:34:03 6720504 97
image.png 602Кб, 800x800
800x800
>>6704953 (OP)
вы же в курсе, что бумер - это пидарская тачка.
Это и по фильму видно, да и их товарный знак как бы намекает
Аноним 17/12/25 Срд 10:24:28 6720730 98
Аноним 17/12/25 Срд 21:10:00 6721262 99
17634869742990.mp4 859Кб, 480x852, 00:00:06
480x852
Аноним 18/12/25 Чтв 12:08:05 6721560 100
>>6720453
БМВ и мерседес это два магнита для быдла. БМВ побольше конечно.
Аноним 18/12/25 Чтв 19:34:02 6721787 101
>>6721560
Так и есть. Эта ситуация при этом в разных локациях различается: в Самаре больше всего "вип"-быдла на тойотах, другие японские вёдра не так притягательны для быдла по какой-то причине. А на БМВ и Мердесах, ВНЕЗАПНО, ездят в среднем поспокойнее. В Москве ситуация обратна, но автобыдло на Мерсах и БМВ чаще всего из "успешных" понаехов.
Да, ЦА часто создаёт негативный имидж марке, другой очень наглядный пример - пользователи ябла в регионах и в Москве. В Мск для людей это просто телефон, в регионах же - атрибут роскошной жизни.
Аноним 19/12/25 Птн 08:10:47 6722028 102
image 402Кб, 813x716
813x716
image 194Кб, 604x453
604x453
image 449Кб, 604x453
604x453
image 380Кб, 897x897
897x897
>>6720504
>Это и по фильму видно, да и их товарный знак как бы намекает
По баржетреду, где с конца 10-х беснуется проткнутый е34-пидарас с пориджами на аве - тоже.
>>6721560
>два магнита для быдла
VOLKSWAGEN
@
AUDI

И другое ваговно, вплоть до грузовых сканий. Количество неадеквата на вагопомоях в нищих депрессивных пердях СЗФО и в Приуралье просто запредельное, а вагопомои итт возведены в культ. Гоповатые амбалы на тонированных поло/А4, жлобы-пивозавры на тигуанах/Q5, птушники на гольфах/80/100/первых поколениях А4/А6, говнохипсторы на Т3/сеатах/гольфах б2, сельские жлобы на Т4/пассате б3/100/А6-сигаре, гопота на гнилых в труху б5 и педофилы с синеботами на б3/80/сотках - вот она ЦА всех этих вагопомоек. Ненавижу их всех.
Аноним 19/12/25 Птн 08:24:28 6722035 103
Аноним 19/12/25 Птн 09:23:08 6722056 104
>>6722028
Был как-то в Кондопоге, насрал в Онежское озеро.

мимо на свежем синем A4 allroad
Аноним 19/12/25 Птн 09:27:10 6722058 105
image 333Кб, 828x864
828x864
>>6722056
>Был как-то в Кондопоге, насрал в Онежское озеро.
>
>мимо на свежем синем A4 allroad
Аноним 19/12/25 Птн 09:49:01 6722064 106
>>6722056
И после всего этого Она должна простить вас?
Аноним 20/12/25 Суб 20:12:51 6722810 107
Поясните за стейджи на б48, а именно: вот накатил я себе суперстейдж на 300 сил, или вообще поставил другую турбину и навалил 400 сил, мне станет же по идее менее комфортно на ней ездить в плане турболагов, баланса и и тд Будет просто по сути машина - пушка, которая как дурная выстреливает, но эластичности и тд заводской не будет?
Аноним 21/12/25 Вск 13:57:28 6723011 108
>>6722810
Если без смены турбины - то езда на низких оборотах как минимум не станет менее комфортной.
Если менять турбину - смотря, каккую поставишь, и то не уверен.
Аноним 21/12/25 Вск 19:36:48 6723178 109
>>6722810
У меня B48A20T1 / 306 л.с. / 450 Нм на stage 1 на 345 л.с. И 500 н.м.

Турболаг есть так как турбина по дефолту большая, так еще и кулек с завода большой. Изменяемая геометрия турбины не спасает. Но мне похуй, я спокойно не езжу. Но после N57, да, эластичности не хватает.
Аноним 21/12/25 Вск 20:51:44 6723228 110
>>6723178
Понял, спасибо за пояснение. Для меня самое главное что бы тачка работала ровно и приятно, без сильных лагов и рывков с дерганиями, какой двигун посоветуешь - рассматриваю е и ф серии к покупе
Аноним 22/12/25 Пнд 10:43:14 6723473 111
>>6723228
3 литора конечно, если бабки есть. Хоть дизель хоть бенз. Если сраковать не будешь, то двушка дизельная очень приятный в городе агрегат. Да в пределе слабоват, но на каждый день супер топ. Ровно тянет, расход низкий, мне на x1 e84 очень заходил.
Аноним 22/12/25 Пнд 11:28:37 6723500 112
>>6723473
Катался как раз на такой - мне вообще не зашла, что бы машина поехала - нужно продавить педаль, а до включения турбины тупо рычит и не едет. Абсолютно нет приятной эластичности в тачке. В цивике 1.8 140 лс, намного приятнее было ездить. Плюс руль в нуле и около нуля реагирует хуже чем в циваре переднеприводном, там и легче он и отзывчивее
Аноним 22/12/25 Пнд 12:12:03 6723528 113
>>6723228
>рассматриваю е-серии
>Поясните за стейджи на б48
Аноним 22/12/25 Пнд 12:40:04 6723549 114
>>6723500
Ты про b/n 47 или про какой мотор? B/N 47 который 20d супер ровный с низов, дизель другим быть и не может. И руль на e серии классический гидрач. а тяжесть руля - это фишка BMW
Аноним 22/12/25 Пнд 14:13:14 6723627 115
>>6723549
n47 дизельный, я не знаю как описать это, но у дизоля бэхи по сравнению с вшивиком с втеком(знаю что это не тот втек, который был на старых, там он вроде для верхов был, а в 4д для низов сделан) все равно цивик приятнее стартует короче...
Аноним 22/12/25 Пнд 14:58:29 6723668 116
>>6723627
Ну не знаю, может там дизель мертвый был. Исправный бмвэшный дизель очень приятный в движении. До 80 кмч едет просто пиздец как бодро, ровно и эластично.
Аноним 22/12/25 Пнд 15:01:38 6723675 117
>>6723668
Да едет то он ровно, когда газ утопишь и придавишь, базару нет, но нет той эластичности что у вшивика атом с втеком. Педаль на нуле все равно не чувствительная, как продавишь и турбина дуть начинает понятно что ровно все, но не так отзывчиво короче
машина новая была - у родственника
Аноним 22/12/25 Пнд 17:08:20 6723781 118
photo2025-12-22[...].jpg 149Кб, 866x720
866x720
photo2025-12-22[...].jpg 114Кб, 1280x720
1280x720
>>6713304
Всю жизнь ездил на ПП. Пересел на задний с шипованной резиной. По началу охуел и проклял все, сейчас стал более осторожно ездить.

Тронутся в горку - просто забудь, оно не поедет. Тебе тут писали про липучку - забудь, только шипы. По рыхлому снегу в теплую погоду ехать не хочет совсем, в морозы - норм. Со временем научишься понимать, где ты можешь проехать, а где нет. Оно едет, пока едет. Важно научится планировать схему проезда так, чтобы тебе не пришлось останавливаться.

Поехать быстро тоже не получится, поэтому когда (если) купишь себе заднеприводный корч - обязательно покатайся по пустому городу, чтобы появилось понимание, как машина ускоряется. Там, где ты на ПП уступал дорогу, видел зазор и резко выезжал на дорогу и ускорялся, здесь может закончится тем, что тебе жёппу снесут. Она вообще не едет, моргает стабилизацией и прикидывается гей-каром с объемом 0.7.

На разворотах тебя легко может поставить боком, даже если ты этого не хотел и стабилизация работала. Особенно это актуально, когда на дороге что-то вроде ледяной колеи. Где машины ездят - асфальт, а где не ездят - лед. И вот ты наезжаешь на лёд одним колесом и тебя крутит, как судьбу 15 летней девочки, поверившей в любовь.

В целом, жить можно, удовольствие за рулем присутствует. Купил бы еще раз - однозначно да.
Аноним 22/12/25 Пнд 17:31:17 6723809 119
>>6723781
>Тронутся в горку - просто забудь, оно не поедет.
На уклоне же разгружается передняя ось, а не задняя
Аноним 22/12/25 Пнд 17:41:19 6723817 120
>>6723809

Сообщу твои наблюдения машине, когда она меня в очередной раз пошлет нахуй
Аноним 22/12/25 Пнд 18:15:24 6723836 121
>>6723781
Ахуительные истории


мимо 530i на заднем на липучке
Аноним 22/12/25 Пнд 18:30:32 6723851 122
>>6723781
Чё-то какая-то дичь. Может, у тебя резина говно? Чому тв вообще без хдрайва взял, Корея, что ли?
Аноним 22/12/25 Пнд 18:40:27 6723863 123
>>6723851
Нордман 8 разношир. Да, в Корее нет Хдрайва. А я оч хотел м-тех подвеску и чтобы машина была без выплат. Думаю не имело никакого смысла ждать и что-то искать. Они там почти все на заднем.

Снега в Новосибирске выпало просто пиздец, такой снежной зимы не было уже лет 5.
Аноним 22/12/25 Пнд 19:41:46 6723942 124
image.png 224Кб, 1280x719
1280x719
image.png 314Кб, 1280x719
1280x719
image.png 256Кб, 1280x719
1280x719
image.png 99Кб, 437x633
437x633
>BMW делает всё, чтобы не смогли сами отремонтировать своё авто: компания запатентовала специальные винты с головкой в форме логотипа, которые невозможно открутить стандартными инструментами.

>Доступ к креплениям в салоне и ключевых узлах вроде сидений и элементов кузова фактически получают только официальные дилеры, из-за чего самостоятельный ремонт и обслуживание в независимых сервисах становятся серьёзно ограниченными, особенно на рынках с дефицитом дилерской сети, включая Россию.

Оправдывайтесь
Аноним 22/12/25 Пнд 19:56:51 6723972 125
>>6723942
Начать с того, что тут новых машин-то ни у кого и нет. Ну а так патент патентом, а выпускать ключи они никому не запретят. К тому времени, как машины слетят с гарантий и попадут в те руки, которые будут сами чинить, там либо эти ебучие болты поменяют на сервисе на обычные звездочки/шестигранники, либо к тому времени уже давно как китай начнет выпускать головки под эту хуйню.
И в сравнении с платными подписками на некоторые функции комплектаций, это вообще пыль ебаная.
Аноним 22/12/25 Пнд 20:51:32 6724036 126
14831898035270 [...].jpg 61Кб, 563x450
563x450
>>6723817
>законы физики это твои наблюдения
Аноним 22/12/25 Пнд 22:03:24 6724094 127
>>6723863
Ну хуй знает даж. У меня трёха с хдрайвом, после бомжепривода зимой стало наоборот намного комфортнее ездить, неужели подключаемая передняя ось настолько решает? Не, ну и разношир явно устойчивости не добавляет, но тоже не до такой степени.
А что за гирлянда у тебя там на приборке?
>>6723942
Инфопомоечные охуительные новости как обычно.
Во-первых, наборы отвёрток и битов под все существующие размеры этих головок заполонят алик через неделю-две после начала продаж машин с такими креплениями, во-вторых,
>запатентовала
Это значит, что машины с таким крепежом могут появиться в следующей партии, могут через год, могут в следующих кузовах, а могут и не появиться.
Аноним 22/12/25 Пнд 22:35:05 6724130 128
>>6724094
Да, полный привод решает. Гирлянда зажглась, после попыток выехать из ситуации. 43 ошибки, но ничего серьезного
Аноним 23/12/25 Втр 02:24:51 6724306 129
>>6723781
Хз в чем твоя проблема, браток. Живу в довольно холмистом городе и в целом проблемы с этими дурами имел только в гололед. Ну и парковка, это да. В сугроб не запаркуешься. Но тут уж, сам такую машину выбрал. Даже с ее мощностью она покойно едет, шлифуя обеими задними, но спокойно, бмвшная стаба очень прогнозируемо себя ведет, если ты просто хочешь ехать вперед. Резина онли липучка пирелли 275.

F02 750Li
Аноним 23/12/25 Втр 05:15:28 6724331 130
>>6724306
Моя проблема в отсутствии привычки езды на такой машине. А у того чела, кому изначально отвечал, такого опыта тоже нет.
Аноним 23/12/25 Втр 08:32:13 6724353 131
Аноним 25/12/25 Чтв 22:58:04 6726975 132
>>6723809
Еблан, ты про уклон в сколько градусов пишешь? У тебя геометрию в школе ещё не начали проходить?
Аноним 26/12/25 Птн 00:54:12 6727018 133
я тут не бмв, а мерс 205, но вот моя история про заднеприводное.

Много лет игнорил тему, думал что задний привод это чушь помятую марк2 приятеля. Страшненько, ненадежно, вьебусь и все такое. Оказалось что клёво выталкивает из поворотов, очень резвое, легкое и никакой вибрации от двигателя. Если стоишь на холостых можно не понять машина заведена или нет.

В общем мерс на заднем приводе. Гдето 12см под днищем, амг-лайн. Летом все збс и замечательно.
А зимой это ... нюанс. На шипах точно не вариант - они просто проскальзывают. Говорят надо в багажник 2 мешка цемента и будет норм, но я не такой.
Сейчас липучка мишлен. С ней ок - хорошо тормозит и гребёт снег, на льду ок и очень тихая.
Нюансов с RWD по сути 3:
1) надо трогаться с рулём по прямой и выкручивать при начале движения. При этом мерс вытаскивает толчками - очень тихонько нажимаешь газ и он начинает толкать колеса импульсами.
2) никаких быстрых движений на снигу и в поворотах - есп сразу душит, максимум слегка вильнешь жопой. Т.е. на снежном повороте брать запас по времени ибо машина не даст мощности пока не вырулишь.
3) ни в коем случае не лезть в сугробы. Сел на брюхо - и уже ничего не поможет.
Аноним 26/12/25 Птн 03:13:07 6727050 134
>>6727018
Курс живительной жиготерапии этому заднепровидному.

Через пару недель тазоклассики ты сможешь ездить на чем угодно, когда угодно, и где угодно.
26/12/25 Птн 09:40:42 6727127 135
>>6727050
На словах вы львы толстые, а на деле в снегопад тащитесь 40 км/ч.
26/12/25 Птн 22:33:18 6727519 136
nkb.jpeg 9Кб, 259x194
259x194
>Резина онли липучка пирелли 275.
Специально такую узкую брал? У тебя же там сто пудово двадцатые диски стоят?
26/12/25 Птн 22:33:48 6727520 137
Аноним 27/12/25 Суб 01:57:33 6727571 138
>>6727519
Да 20е, 275 это сток для них всех, в общем-то.

F02 750Li
Аноним 27/12/25 Суб 09:23:04 6727599 139
>>6727018
>очень резвое, легкое и никакой вибрации от двигателя. Если стоишь на холостых можно не понять машина заведена или нет
Не связано с приводом вообще
Аноним 27/12/25 Суб 17:09:52 6727743 140
>>6727127
>а на деле в снегопад тащитесь 40 км/ч
А сколько в снегопад надо?
Аноним 27/12/25 Суб 17:15:13 6727745 141
>>6727743
130 боком мимо пешеходов, не видел ралли группы б, тошнот ебаный?
Аноним 01/01/26 Чтв 13:55:57 6730265 142
тост.webm 3117Кб, 272x480, 00:00:56
272x480
С новым годом, братва! Что-то неймфаги все поразбежались, мало, кто остался. Дизельному сараю мирного неба, сяве перестать страдать хуйней и обратно бэху взять, кто на езч - продолжать в том же духе.
оп
Аноним 01/01/26 Чтв 13:57:02 6730267 143
Аноним 01/01/26 Чтв 14:02:16 6730270 144
>>6730267
Тазоклассику. Ну или донора е34 без документов.
Аноним 01/01/26 Чтв 23:43:47 6730478 145
image.png 963Кб, 1000x950
1000x950
Мнение?
Аноним 01/01/26 Чтв 23:53:16 6730485 146
image.png 694Кб, 797x447
797x447
>>6730478
Беру кредит -> покупаю эту хуиту -> восстанавливаю -> продаю за 20. Где я обосрался?
Аноним 02/01/26 Птн 07:50:59 6730589 147
>>6715220
реально столетнее задроченное ведро стоит сотку баксов? может проще переехать в норм страну и купить лексус
Аноним 02/01/26 Птн 10:31:34 6730600 148
>>6730485
Надо ещё один кредит на восстановление
Аноним 03/01/26 Суб 10:59:26 6731070 149
Что лучше купить? ф25 с минимальным пробегом или ф15 или х6 тех же годов но с пробегом побольше, интересуют бензиновые двигатели
Аноним 04/01/26 Вск 18:19:15 6731716 150
Че можно взять за полтора ляма?
Аноним 04/01/26 Вск 18:42:10 6731724 151
Аноним 04/01/26 Вск 18:43:47 6731727 152
>>6730589
переезжай завтра же. и не возвращайся пожалуйста
Аноним 04/01/26 Вск 19:31:32 6731751 153
изображение.png 356Кб, 640x640
640x640
>>6704953 (OP)
Ребят наконец-то, я в клубе
Сегодня забрал свою легендарную e34. Вы спросите год? 94! Год моего рождения!

Да не новая, но БМВ не бывает старой, она бывалая! Да! Именно так, бывалая. Тот самый бумер, ассоциация с крепкими и решительными ребятами. Она не просто едет, эта машина наезжает! Буквально одним своим присутсвием меняет атмосферу в потоке. Даже будучи бывалой, БМВ остерегаются, это не моашина. Это темный властелин автоидустрии, как будто Дарта Вейдера воплоти в авто.

Все жигулята, тазовички и прочие гнилоопели, а также манерные пидорастические пежо, рено, ситроены забиваются под шконку. Где уже ютятся корейские и китайские опущи. Узкоглазая пиздобратия гречневых роботяг япошек съебует подальше от греха. Лишь опозитный спермоглот Субару то и гляди пытается занюхать жопу, но делает это из опаски и уважения. Даже он , напидоренный опозитный япошка чувствует и уважет силу которую несет БМВ.

Мне все равно сколько из меня вытащит денег, здоровья и нервов. Я отдаюсь силе БМВ и позволяю ей захватить мой разум полностью
Аноним 04/01/26 Вск 20:22:21 6731764 154
IMG202601042020[...].jpg 100Кб, 480x376
480x376
>>6731751
Ты сам из под какой шконки кукарекаешь?
Аноним 04/01/26 Вск 20:26:07 6731765 155
11ce9923-611b-4[...].jpeg 279Кб, 800x480
800x480
i-7.jpeg 110Кб, 826x533
826x533
Аноним 04/01/26 Вск 21:36:50 6731789 156
>>6717856
>>6719293
я таки дождался этого камента!

мимобаржееб
Аноним 05/01/26 Пнд 21:40:10 6732198 157
>>6723627
Хонда тоже не лыком шита, настройка педали газа у них одна из лучших, только БМВ может сравниться, но дизель переоценен и там обычно есть небольшая задержка, чтобы крутящим моментом не ушатать привода, а на высоких скоростях дизель просто сдувается.
Аноним 06/01/26 Втр 07:59:36 6732329 158
06/01/26 Втр 08:00:24 6732330 159
>>6732329
Ебучая пидорская макака блядь борду починить не может нахуй блядь. Я не в этот тред отвечал.
Аноним 06/01/26 Втр 11:17:44 6732405 160
>>6732198
Понял! Спасибо что растолковал, братишка. Теперь все на свои места встало. Теперь уж точно никогда не возьму дизель
Аноним 14/01/26 Срд 13:59:03 6736833 161
Вероятность мала, но все же спрошу.
Есть ли тут счастливые владельцы bmw ev, а именно i4?
Выбираю между Polestar 2 и i4 сертифицированные pre-owned.
По деньгам плюс-минус одинаково (2.2 в пересчете в рубли), но кажется что электро бнв не будет соответствовать философии этой марки, просто бездушный коммерческий продукт.

Плюс, сколько не ездил на электричках - все одинаковые, отличаются только кузовом и шильдиком.
Аноним 15/01/26 Чтв 02:58:24 6737299 162
>>6736833
Так и есть. Это по ощущениям продукт бмв содержащий, идентичный натуральному. Типа оно едет, даже кое как рулится, примерно на уровне теслы С, но шоб ты ощущал что это прям бмв- не-а. Причем я тоже задавался этим вопросом и поездил на и7 и4 и5 и тайкане( удивительное говно оказалась, я ебу). Так вот по итогу взял теслу С с 95й батарейкой и норм, довольно урчу(нет, бо ничто не заменит бэху с норм мотором, факты). Но в целом жить можно. Зимой охуенез полный. Если думаешь брать единственной машиной в семью- подумай дважды, трижды, и брось нахуй эту идею. Зарядки могут не сработать в самый не подходящий момент и хуй ты куда поедешь. МБ в ответе пару пикч приложу, шоб не беспруфно пиздеть, мы не такие.

F02 750li*
Аноним 15/01/26 Чтв 03:25:14 6737305 163
IMG202511181919[...].jpg 3268Кб, 4096x3072
4096x3072
IMG202511071845[...].jpg 4050Кб, 3072x4096
3072x4096
Screenshot2026-[...].jpg 370Кб, 1440x3168
1440x3168
Аноним 15/01/26 Чтв 07:48:43 6737341 164
>>6737299
Как к тебе пришла идея взять электричку?
Аноним 15/01/26 Чтв 10:23:30 6737423 165
image.png 600Кб, 777x600
777x600
>>6736833
>философии этой марки
Феласофея БНВ это поплотнее насрать в рот бнвдаунам. Уебище XM существует, йоба Z4M не существует. Думой)))
Аноним 15/01/26 Чтв 10:45:24 6737447 166
В блатные с самым большим хуем владельцы: е34 м30б34
Аноним 15/01/26 Чтв 12:12:21 6737505 167
Аноним 16/01/26 Птн 01:34:38 6737926 168
>>6737341
Подвернулась по норм цене, она третья машина у меня получается. И в целом, если есть где заряжать, то по городу довольно удобненько на короткие поездки пересуваться, так сказать. Но как основной транспорт оно конечно ваще никак не канает, жаль тех добряков кто прыгает в эту прорубь с головой. А идея у меня было простая- приключения епта.

F02 750li
Аноним 16/01/26 Птн 02:21:51 6737931 169
>>6737926
У вас там есть приключения поинтересней, лол. Кстати тебя за жопу не берут за такие покупки, там вроде бабла у вас нехватка и пр?
Аноним 16/01/26 Птн 02:55:10 6737933 170
>>6737931
Ну хз откуда вам это преподносят, но нет. Бабла как обычно. Но приключений нынче хватает, это да.
Аноним 16/01/26 Птн 03:37:28 6737938 171
>>6737933
Да никто ничего не приподносит. Так, рассуждения, не более.
Аноним 16/01/26 Птн 03:39:42 6737939 172
>>6737938
Хотя сделаю самофикс, что преподносят куда в более огромных масштабах, визги и крики и прочий неадекват. Я больше про свои мысли писал.
Аноним 20/01/26 Втр 02:18:43 6740517 173
IMG0450.jpeg 118Кб, 1280x853
1280x853
IMG0449.jpeg 131Кб, 1280x853
1280x853
IMG0448.jpeg 160Кб, 1280x853
1280x853
Купил е46 330ci год назад по самому низу рынка за 750к.
По технике все оказалось ок, по кузову много чего переделывал и колхозил. На данный момент вложено 550к и предстоит перешивать салон
Аноним 20/01/26 Втр 05:24:02 6740529 174
Rock - I am Roc[...].mp4 6714Кб, 1280x720, 00:03:23
1280x720
>>6740517
>е46
Слушай, с твоей тачкой что-то не так. У тебя масло течет, слышишь меня? Долго ты не протянешь.
Аноним 20/01/26 Втр 10:28:19 6740587 175
IMG5172.jpeg 5526Кб, 5712x4284
5712x4284
>>6704953 (OP)
Спасибо дядя Вова. Выехал на трек.
Аноним 30/01/26 Птн 16:47:28 6745398 176
Пришел вахтер обоссанный и потер мое сообщение, абсолютно безобидное, про дизельные моторы на биэмви
Че вы конченные такие, а биэмви-клуб?)
Аноним 30/01/26 Птн 16:56:44 6745402 177
>>6745398
БМВ-дауны настолько дауны, что даже не в состоянии прочитать всплывающую плашку в заголовке страницы.
Аноним 01/02/26 Вск 11:22:37 6746286 178
>>6704953 (OP)
Китайскую тройку так и не научились прошивать?
Аноним 01/02/26 Вск 17:42:27 6746491 179
сми.jpg 142Кб, 960x540
960x540
Я тут что-то подумал, а вариант купить из японии распил е34 ? Ну пусть выйдет 300к, так это куда дешевле, чем допустим полностью свою перетряхивать, подваривать там и пр.
02/02/26 Пнд 03:38:40 6746972 180
image 415Кб, 1000x754
1000x754
>>6746491
>Я тут что-то подумал, а вариант купить из японии распил е34 ? Ну пусть выйдет 300к, так это куда дешевле, чем допустим полностью свою перетряхивать, подваривать там и пр.
Аноним 05/02/26 Чтв 09:49:46 6748928 181
Ну что БМВшнки как дела? Я вот пружинки H&R с занижением заказал и в резину новую обулся Goodyear F1 SuperSport. Думаю над кастомом тормозной системы.
А то свой Pirelli P Zero в край ушатал >>6740587

Такие дела.
Аноним 05/02/26 Чтв 09:58:52 6748930 182
Аноним 05/02/26 Чтв 20:43:04 6749401 183
17684124703630.jpg 72Кб, 720x405
720x405
Аноним 06/02/26 Птн 16:13:15 6749865 184
Аноним 08/02/26 Вск 13:28:51 6750960 185
>>6704953 (OP)
Стоит ли соваться в X5 F15 3л дизель с бюджетом 3кк, ну может чуть больше? С учетом, что за пару месяцев наскрести 200к на отрыгнувшее что-нибудь не проблема? Или Ф пора забыть, как Е, и там уже сыпется всё и вложения перманентные будут?
Аноним 08/02/26 Вск 13:31:22 6750961 186
>>6750960
>С учетом, что за пару месяцев наскрести 200к на отрыгнувшее что-нибудь не проблема?

Поинтересуйся стоимостью топливных форсунок и ТНВД.
Аноним 08/02/26 Вск 13:47:02 6750965 187
>>6750961
Ахуеть, выкатываюсь, тнвд еще ладно хуй с ним, он один, но форсы не потяну, а б/у не хочется
Аноним 08/02/26 Вск 15:00:03 6750981 188
image.png 2413Кб, 1200x900
1200x900
Рассматриваю к покупке тройку бмв шестого поколения (растайлинговую) на полном приводе с двигателем два литра. Бензин или дизель пока не решил. Денех примерно 2кк с копейками лям своих и лям кредитных, что примерно соответствует 150-200к км для десятилетнего авто. Дорого ли содержать это ведёрко и какие проблемы меня вообще ждут? Сколько закладывать сразу на ремонты и ежемесячное обслуживание? Машины ранее не было вообще, з/п 120к в мес, из которых где-то 45-50к на ежемесячные нужды уходит.
Аноним 08/02/26 Вск 15:10:07 6750984 189
>>6750981
>что примерно соответствует 150-200к км для десятилетнего авто. Дорого ли содержать это ведёрко и какие проблемы меня вообще ждут?

Резинки рассыхаются и трескаются, пластмасски хрупчают и трескаются, изоляция проводов дубеет и трескается, электрические контакты в разъёмах окисляются от присутствия влаги, электронные блоки выходят из строя, толковых электриков-диагностов можно посчитать по пальцам одной руки, засунутых в жопу. Кузов бьётся и ржавеет, у двигателя и трансмиссии повышенный износ, так как нищеброды считают эти тачки спорткарами и регулярно дают им под сраку. Покупай, чо, охота пуще неволи.
Аноним 08/02/26 Вск 15:16:50 6750985 190
>>6750960
Родина дала нормальный бензиновый мотор на 306 лошадей, так нет, хочу жрать говно блядь.
>>6750981
Бери бензин, а уж только среди них решай по объему и модели мотора.
>>6750984
>Резинки рассыхаются и трескаются, пластмасски хрупчают и трескаются, изоляция проводов дубеет и трескается, электрические контакты в разъёмах окисляются от присутствия влаги, электронные блоки выходят из строя
Он вроде не таз покупает, лалкич.
Насчет диагностики да, но сильно ли она нужна на свежей машине, в большинстве случаев и обычной елм можно ошибку прочитать и понять, что случилось. Насчет сракерства тоже доля правды есть, но это уже при покупке смотреть состояние надо.
Аноним 08/02/26 Вск 15:30:46 6750986 191
>>6750984
>Резинки рассыхаются и трескаются, пластмасски хрупчают и трескаются
Ну, это как будто бы плюс минус к любой машине применимо в принципе.

>двигателя
А если дизель? Они же, вроде как, довольно надёжные, не? Я немного гуглил и проблемы в основном с грм, которых, вроде как, меньше на двигателе B47, турбиной и сажевым фильтром.

>трансмиссии
Грят, что автомат на этой модели тоже достаточно живучий при условии своевременной замены масла. Если пинков/рывков нет, то можно быть более-менее уверенным в том, что с ним всё ок?

>>6750985
Ну, объём два литра, пожалуй. Мне сильно много мощности не надо, поэтому переплачивать за три литра и потом ещё платить большой налог налог не оч.охота.
Аноним 08/02/26 Вск 15:34:59 6750989 192
>>6750985
>Он вроде не таз покупает, лалкич.

Не таз, поэтому и пишу. У тазика пластиковые трубочки и прочие коллекторы под капотом обычно не ломаются при попытках их снять. А снимать их придётся часто у такого старого говна, да ещё и при отсутствии денег чтобы заменить всё сразу. Сядет однажды утром в свою тачку, поймает гирлянду из лампочек и поедет на трамвае искать человека, который будет искать ему срущий в шину блок. И это будет происходить постоянно, пока он не продаст это ведро такому же лоху. Там уже наверняка в проводке изоленты больше чем самих проводов.
Аноним 08/02/26 Вск 15:36:31 6750991 193
>>6750985
>но сильно ли она нужна на свежей машине

10-летнее некроведро с пробегом 200+ тык. Свежее, лол. Оно уже свой ресурс, заложенный производителем, два раза отъездило.
Аноним 08/02/26 Вск 15:37:42 6750994 194
>>6750985
>в большинстве случаев и обычной елм можно ошибку прочитать и понять, что случилось

Ну увидишь ты нарушение связи между блоками и дальше что? Это блоки могут быть вообще не при чём.
Аноним 08/02/26 Вск 15:53:44 6751000 195
16379072186281.jpg 197Кб, 955x956
955x956
>>6750986
>Ну, объём два литра, пожалуй. Мне сильно много мощности не надо, поэтому переплачивать за три литра и потом ещё платить большой налог налог не оч.охота.
При одинаковой динамике зачастую расход почти не отличается. Погугли лучше надежность, эксплуатацию и пр, может выйти так, что большим объемом выгодней взять.
>>6750989
>>6750991
Пикрилейтед
Аноним 08/02/26 Вск 15:56:21 6751001 196
>>6751000
Ну, я вот смотрю сейчас трёхлитровки и там цены уже другие совсем. Увы, но столько денех у меня нет.
Аноним 08/02/26 Вск 16:00:59 6751002 197
>>6751001
Сколько не читал и смотрел про дизели, пришел к выводу, что нахуй и в пизду. Конечно обладатели м57 меня сейчас обоссут, но лично для себя я бы нахую все это вертел, только бензин блядь. Наслышан блядь то летнюю соляру зимой завезли, то блядь не та соляра, то нахуй у одного знакомого мудака форсунка наебнулась (дорогущая, дизель же), он ее меняет, через неделю на том же цилиндре опять она наебывается, думает, что брак, меняет опять уже с другого магазина и другой фирмы, опять через неделю наебывается, оказывается, что наебнулся тнвд и стружку начал хуярить в систему. У другого мудака на спринтере детонация появилась, он подумал, что подушки движка, купил подушки, поехал их менять, оказалось, что не подушки, а детонация, открутились шатунные болты, поймал кулак дружбы. Да ну его в пизду блядь, чесслово, дизеля эти. Про бензинки среди круга общения ни у кого похожей хуйни никогда не было, а тут с дизелями полторы калеки и такие попадосы.
Аноним 08/02/26 Вск 16:01:58 6751003 198
>>6751002
фиксану, что форсунки на газели менял
Аноним 10/02/26 Втр 02:04:57 6752087 199
>>6751002
М57 это столп мироздания ! И я умру на этом холме. НО! Если у тебя умеренная городская эксплуатация, и ездишь ты мало и не шибко долго, то дрызоль, нигде, кроме коммерции, нахуй тебе не всрался блять, одна ебка, особенно если соляра гуляет по качеству. Бензин и греется быстрее, и в городе при прочих равных чуть ли не экономичнее и уж точно гораздо теплее и проще зимой. База
F02 750li
Аноним 10/02/26 Втр 12:01:26 6752219 200
>>6752087
>и в городе при прочих равных чуть ли не экономичнее

Че блядь? Херню пишешь. Как раз б47 в городе на парах ездит, а на трассе разница в расходе начинает нивелироватся по сравнению с б48, так как дизель чтобы ехать нормально приходится крутить.
Аноним 10/02/26 Втр 23:18:56 6752624 201
>>6750981
>>6750960
Была у меня F07 с трехлитровым дизелем. 1 хоз. Покупал на пробеге 145 тысяч. И за 3 года владения я вложил в нее миллион денег. Они у меня были, тачка мне нравилась, но ебала мозги очень часто так как была стара духом. Именно так это все и было >>6750984. Там сям и хуяк выезжаешь с ТО с чеком на 50 или 100к. И так раз в месяц. Оно в принципе имеет место быть, но это пиздец время и психологическое давление, что отъеб произлойдет.
И в другой реальности E84 купленная за год до этого с 1 хозом и пробегом 55к в состоянии муха не ебалась. Абсолютно ничего кроме расходников. Продал ее дороже, чем покупал. Но это реально был брилиант. Вы такой не купите, а купите ушат помоев. Это я вам гарантирую

Ну а сейчас катаю на зажигалке. Ебашу по треку, шашкую в отсечку. Пробег 40 тысяч. Скину через годик. И тогда 2у хозу сильно повезет. Но и бюджет будет явно не 2 миллиона. Мысль надеюсь поняли?
Аноним 10/02/26 Втр 23:23:45 6752627 202
>>6750960
>Стоит ли соваться в X5 F15 3л дизель с бюджетом 3кк,
Свежая тройка двухлитровая с Кореи на 150 л.с. на b48

>>6750981
>Денех примерно 2кк с копейками лям своих и лям кредитных,
116 свежую (по состоянию) или мини с кореи.

Они вас не сожрут, а кайфа дадут. Потом поменяете. Лезть в то, что вы не тяните не советую.
Аноним 10/02/26 Втр 23:29:29 6752631 203
>>6752627
И получит тот-же мотор и ту же коробку, что и на 316ой.
Аноним 11/02/26 Срд 07:25:54 6752731 204
>>6752627
Да, корейская тройка тоже вариант, но в мой бюджет это будет по низу рынка, то есть пробег в районе 60, плюс дефекты лкп, на что я готов закрыть глаза, т.к. хочу покататься немного, а потом залатать все и в пленку ее закатать
Аноним 11/02/26 Срд 11:42:50 6752799 205
>>6752631
На 316 в кузове g20 стоит 2х литровый b48/b46 который простым stage 1 чиауется в 270 л.с. и там же стоит ZF 8 акпп. В комплектации M-sport это скрытая имба. Это блядь база 2026 года нахой.
>>6752731
Это 2022 год с пробегом 30-40 тысяч но на заднем приводе. 3000-3400 с доставкой выйдет. Это лучший вариант, чтобы не обосраться. Я сероьезно.
Аноним 11/02/26 Срд 13:56:13 6752885 206
>>6750960
>за пару месяцев наскрести 200к на отрыгнувшее что-нибудь не проблема?
Откуда вы лезете? Что за мазохизм покупать машину, которую не тянешь?
Аноним 11/02/26 Срд 14:14:54 6752893 207
>>6752885
Последствия промывки мозгов через соцсети
Аноним 11/02/26 Срд 15:48:32 6752931 208
>>6752885
А у тебя лежит котлета денег на случай отъеба движка/коробки на твоем корыте? Я в серваках несколько лет работал и клиентов у которых реально есть бабло процентов 10. Отъебнет у чела на поло/солярисе мотор и он точно так же будет ныть что у него нет сейчас 250к на ремонт, нужно или кредит брать или копить.
Аноним 11/02/26 Срд 18:08:58 6752998 209
Аноним 11/02/26 Срд 21:19:53 6753119 210
>>6752799
>3000-3400 с доставкой выйдет
Ну 3 и 3,4 это очень разные цифры, но я поищу, как налоговый вычет придет. Это все равно мой приоритетный вариант.
Аноним 11/02/26 Срд 21:20:41 6753120 211
>>6752885
По-моему не тянешь это когда тебе надо брать кредит и мгновенно чиниться, иначе потеряешь всё
Аноним 12/02/26 Чтв 16:01:21 6753420 212
>>6752627
Скинь вариант на 150 сил. Они все там 320i на 184 силы. Теперь это дорого таможить.

>>6752799
Ты называешь цены на китайские тройки с индексом 20i. Впрочем, они тоже неплохие и их можно брать.
Аноним 13/02/26 Птн 01:35:58 6753791 213
14733464614900.jpg 215Кб, 1600x1128
1600x1128
Я вот тоже думаю про F31 как этот>>6750981, но думаю заказать пруль в бюджет до 2кк. Хочу авто на 5-7 лет. Насколько плох B38b15? И насколько я словлю гемморроя в своих крайних северах? На автозапуск по температуре как тойоту, как мне кажется, ставить уже не разумно, поэтому это сразу вебаста. Что делать с аккумулятором в багажнике? Как его обогреть если источники тепла далеко?

Сам не гонщик но, когда был в метрополии прокатился на убитой каршеринговой G20 и мне очень зашло, я понял как НАДО, я впервые почувствовал эмоции от вождения.

Ещё рассматриваю S205.
Аноним 13/02/26 Птн 11:26:46 6753890 214
>>6752627
>Свежая тройка двухлитровая с Кореи на 150 л.с. на b48


Нет в Корее такого, только в китае. "Доутильныая" в корее 120д. Там 160 сил.
Аноним 13/02/26 Птн 15:16:15 6754030 215
image.png 1349Кб, 1280x720
1280x720
>>6753791
B38 хороший, никакого геморроя в морозы с B48 нет, с B38 тоже не будет, думаю.

Можешь забить хер на все эти прогревы и прочие подогреватели. Он нормально запускается в лютые морозы, при условии живого аккумулятора. В -32 и ниже лучше просто воздержаться от эксплуатации ТС.

С АКБ в багажнике все хорошо, он ощутимо теплее. Точных цифр не приведу, но его буквально не так холодно было трогать, когда снимал для зарядки. Плюс под ним выхлоп, он его согревает. Летом в багажнике даже пол теплый после длительной поездки.

Пруль, кстати, можешь взять 20i на 156 сил. Но по поводу чипа сразу предупреждаю, там не MG1 от предыдущих поколений, его придется разблокировать, а это стоит и денег и в пердях такие услуги могут не оказываться. Поэтому вот прям сразу получить 184, 252 etc сил не получится. Но я тебе рекомендую год поездить в стоке.

Ты - это я, в каком то смысле. Правда я много на каких бнв ездил в аренде, но глубоко в душу запала именно G20. G30, G05 и прочие более лухари кузова - это для взрослых, состоятельных мушщин. А я пиздюк 30 лет и в тройке чувствую себя в своей тарелке.
Аноним 13/02/26 Птн 18:11:34 6754086 216
я это ты.mp4 5577Кб, 576x1024, 00:01:07
576x1024
>>6754030
>Ты - это я, в каком то смысле
А я это ты, все мы такие тута
Аноним 15/02/26 Вск 02:04:08 6754855 217
Хорошо вы тут про тройки разговорились, я как раз мимо проходил. Как раз хочу попробовать после пепеонского качества пригубить немецкого. Вариантов я для себя пока что выделил несколько.
1. F20 с Японии. Можно притащить за полтора +/-, жир, М-пакет, но копейка пруль на B38. Зато пробег ~50к.
2. F30 с Японии. Можно притащить за те же бабки, мейби чуть дороже, но в целом тоже жир с пробегом от 50 до 100к. Но снова пруль на B38. Зато трешка седан/универсал.
3. F30 дилерская. Если дорест, то N47, если рест, то B48 или B47, но рестов в мой бюджет практически нет. Ценники ебать от 1.5 до 3кк. Больше двух мультов я отдать не готов. Да, левый руль, но комплектации похуже плюс тяжелые условия эксплуатации и пробег ~200к. Дай бог ещё, чтобы родной.

Я вот что думаю, бензин по-хорошему сотый нужно лить, а его может и не быть. Солярка-то везде есть, где есть фуроёбы, а они везде есть. Ну и прули на трех горшках могут оказаться неликвидом на дистанции, а двухлитровый бимер трешка вроде как всегда в цене. Хотя вот читаю иногда, этот мотор за лям откапиталил, тот лям за год вкинул, и подумываю невольно, а не купить ли мне на эти деньги божественную тавоту/хонду посвежее.
Аноним 15/02/26 Вск 03:05:57 6754867 218
>>6754855
>Хотя вот читаю иногда, этот мотор за лям откапиталил, тот лям за год вкинул, и подумываю невольно, а не купить ли мне на эти деньги божественную тавоту/хонду посвежее
Или докинуть тот же потенциальный лям и бэху посвежее, Лол.
15/02/26 Вск 07:06:52 6754936 219
Спидарылый тред! САЖИ
Аноним 16/02/26 Пнд 00:04:28 6755386 220
>>6752931
>А у тебя лежит котлета денег на случай отъеба движка/коробки на твоем корыте?
Нет, я вообще предполагаю, что В58 будет служить мне ещё очень долго, но если я ставлю машину в сервис, то потом приезжаю, забирать и оплачиваю, какие вопросы?
И прежде чем покупать машину я прикидываю что и сколько стоит и какие возможны расходы на содержание, поэтому Бентли не беру, да и нах он нужен? А тут речь не про лёгший двигатель, что всё-таки форсмажор, а то, что человек пару месяцев будет скрести сумму, которую не хватит даже на летнюю резину на эту машину.
Аноним 16/02/26 Пнд 00:48:38 6755417 221
>>6754855
>Я вот что думаю, бензин по-хорошему сотый нужно лить, а его может и не быть. Солярка-то везде есть
Неправильно думаешь, стояла перед таким же точно выбором В57 vs B58 и решила для себя так - если нет 100, то можно будет доехать и на 95, если не крутить мотор, а вот бака плохой солярки тебе может хватить, чтобы попасть на ремонт топливной аппаратуры, так что она как бы есть везде, но у тебя и не камаз.

>Ну и прули могут оказаться неликвидом
100%

>Хотя вот читаю иногда, этот мотор за лям откапиталил, тот лям за год вкинул
Бери В48 и не чипуй на все деньги, но вообще да, содержание БМВ подороже японки.

>а не купить ли мне на эти деньги божественную тавоту/хонду посвежее
Слово Божественная применимо только к Хонде, но даже Хонды понемногу скатываются, да и мало их на рынке. Тойота это для унылых, ну она ездит, на этом всё, легендарная надёжность сильно преувеличена.
Аноним 16/02/26 Пнд 02:12:55 6755506 222
>>6755417
Это не ты писала кулстори, как ссала в пробке в бутылку, слегка обоссав сиденье, туда же ежедневку засунула, а потом на газон выкинула, а когда возмущающийся дворник-чурбан начал что-то орать, крикнула ему, что может все это выпить и обдрочиться?
Аноним 16/02/26 Пнд 02:20:18 6755509 223
>>6755417
>но у тебя и не камаз
Да камазы заправляют тем, что слили с тепловозов и тракторов. Я имел в виду нормальные современные фурри, там топливная стоит подороже, чем на бимер, и подозреваю, что не менее нежная, плюс простой тоже деньги. Думаю, на лукойле/роснефти качество стабильное более-менее, а на левых заправках я и не заправлялся никогда.

>В48
Ну если выбирать между B47 и B48, то выберу то, что живее/жирнее. Если между N20 и N47, то пусть лучше будет дизель.

>ну она ездит, на этом всё
Ну, в этом тоже что-то есть, не правда ли? Второй машиной в любом случае оставлю японочку, есть не просит. Зато если бимер крякнет, я не превращусь в карикатурного владельца бнв за автобусе.
Аноним 16/02/26 Пнд 10:03:08 6755569 224
>>6755417
>если нет 100, то можно будет доехать и на 95
На 92м все нормальные люди ездят годами.
Аноним 16/02/26 Пнд 12:14:29 6755620 225
Пацаны, помогите выбрать бэху не старше 5 лет с просторным задним рядом (чтобы коленки не уничтожались). До 3млн в бюджет уложусь? Если не брать убитое/утопленника/тотал
Аноним 16/02/26 Пнд 12:53:50 6755641 226
>>6755620
>До 3млн
>помогите выбрать бэху не старше 5 лет
>с просторным задним рядом


АХхахахаха сам то как думаешь? В г30 задний ряд тесный, а она 2021 года не убитая стоит 4.5+
Аноним 16/02/26 Пнд 13:35:58 6755679 227
>>6755620
X120Li из китая твоя лучшая ставка.
Аноним 16/02/26 Пнд 18:27:06 6755873 228
>>6755641
Кажется, что еще можно найти.
Ну или что брать, k5 что ли

>>6755679
Выглядит как норм вариант, спасибо.
Еще нашел x1 20i за 2.5 млн, в чем подвох? У меня никогда не было бэхи, только корейцы. Выглядит очень норм, задний ряд приличный.
Аноним 16/02/26 Пнд 18:50:32 6755901 229
IMG4430.png 234Кб, 1170x2532
1170x2532
IMG4431.png 239Кб, 1170x2532
1170x2532
>>6755873
> в чем подвох?
А блять, вот в чем…
Аноним 16/02/26 Пнд 21:47:57 6756036 230
>>6755509
>там топливная стоит подороже, чем на бимер, и подозреваю, что не менее нежная
Не берусь утверждать, но подозреваю, что даже на современных фурах стараются использовать более надёжные решения, чем на легковых, как минимум у них есть подогрев бака и топливной магистрали, большие сепараторы для воды и т.д., это снимает часть рисков, да и запас хода позволяет ездить от одной проверенной заправки с которой у фирмы договор до другой.

>Ну, в этом тоже что-то есть, не правда ли?
К хорошему привыкаешь, а если изначально у тебя машина, которая дарит эмоции, то после этого "просто ездит" уже не то. Но насчёт того, что нужна вторая машина - полностью согласна.

>>6755569
>На 92м все нормальные люди ездят
Вот и адепты древних атмосферников подъехали, хотя даже в них лучше лить 95 - то на то и выходит по деньгам, какой смысл в 92?
Аноним 17/02/26 Втр 01:36:29 6756162 231
Да, блять, пацаны. Пиздец. С утиля, я, канеш, в ахуе нахуй. Здарова, давно не виделись.

Буду свою копейку, походу, приводить в идеал ваще, полировать, и ездить на ней ещё лет 10. Постепенно превращаясь в нынешних владельцев Е34(не-не, не газую на вас, братва, не газую). Только будет у меня вместо тридцатилетней пятерки - тридцатилетняя копейка. Такие пироги.

ИИИ че таскают все модели, кроме первого поколения? Прикольная лягуха, которая тоже была и на дизеле 2л, и на полторашке бензиновой.

P. S. И с работой пиздос. Может тут есть бизнесмены-кабаны, которым нужен человек на удаленку(видео-монтаж там, к примеру) или еще че-нить. Может за границей, в какой-нить ОАЭ.

Всем пис, кароч.

Дизельный самурай на Е87 М47TU2 МТ
Аноним 17/02/26 Втр 01:42:51 6756164 232
>>6756162
>превращаясь в нынешних владельцев Е34
Сыш ты чо бля нахуй?
>не-не, не газую на вас, братва, не газую
А ну тада лады, братка, ровно все.
Аноним 17/02/26 Втр 03:24:19 6756170 233
>>6755873
>x1 20i за
Это не Long.

Я указал именно на Long версию для Китайского рынка. Напиши ребятам которые таскают тачки из Китая - пусть посчитают тебе. В указанные тобой 2.5 вполне должно быть возможно привезти.

Загвоздка может быть только в том что таких как ты много и спрос внутри Китая на них может подогревать цены вверх по-сравнению с доутильными временами.
Аноним 17/02/26 Втр 08:21:01 6756212 234
Аноним 17/02/26 Втр 13:25:18 6756338 235
>>6755569
Нормальные люди ездят на АИ-76, а всё что дороже - для тех, кому некуда девать деньги.
Аноним 17/02/26 Втр 23:25:32 6756800 236
>>6756212
Народ, че ваще скажите про эти Х1 и Х2 на полторашке 140 сил и переднем приводе? С точки зрения эксплуатации обычного человека.

Мне не надо рассказывать, что это не БМВ, что привод не тот, что настоящая бэха от 3 литров и шести котлов, а этот литр сока не едет и до сотки полчаса - и вот эта вот вся хуйня. Знаю-знаю и без вас.

Мне интересно как эти Иксы с этими моторами и приводами в обслуживании и надежности? Просто ездить из точки а, в точку б и обгоны на трассе. В машине кроме меня еще 2 человека максимум, общим весом не больше 150кг.

Выебут они меня? Проедет тачка тыщ 150, при бережной езде и регулярном обслуживании?

Дизельный самурай на Е87 М47TU2 МТ
Аноним 18/02/26 Срд 07:32:19 6756882 237
>>6755417
>>6755569
>>6756338
Блатные бандиты на БМВ ездят на 98 и 100. Все что ниже это для чепушил нищих, шнырей и петухов. Хатьфу на вас перхоть.
Аноним 18/02/26 Срд 09:22:05 6756903 238
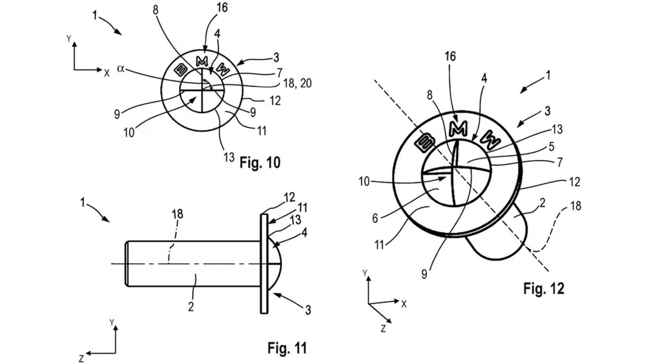
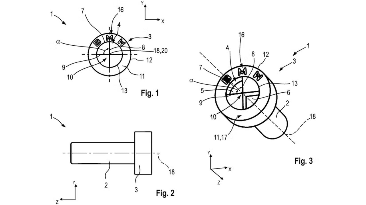
Аноним 18/02/26 Срд 09:29:25 6756910 239
>>6756800
>Мне не надо рассказывать, что это не БМВ, что привод не тот, что настоящая бэха от 3 литров и шести котлов, а этот литр сока не едет и до сотки полчаса - и вот эта вот вся хуйня. Знаю-знаю и без вас.
Брат, это фактически мини. Легкая, достаточно управляемая телега с приличной динамикой. Азарт там точно есть.
Про робот не скажу, а вто B38 как и все поколение B моторов супер надежен. Моя на трек регулярно выезжает и пизды получает в городе.


X2 M35i-кун
Аноним 19/02/26 Чтв 10:47:03 6757516 240
>>6756903
Предыдущая была такая. В Общем подтверждаю, места сзади там больше чем сейчас у меня в пятерке. ПО всем показателям классная тачка, правда моя подороже была 2020 года и продал ее прошлой весной за 3.600. Ну у меня комплектация ебанутая была. Без пары опций максималка.
Аноним 19/02/26 Чтв 21:13:45 6757941 241
>>6756800
>Проедет тачка тыщ 150, при бережной езде и регулярном обслуживании?
Почему нет? Салон тесноват, есть мелкие болячки типа воды в заднем фонаре у Х1, или это на позапрошлом поколении, но так неплохие машины.

>это не БМВ, что привод не тот, что настоящая бэха от 3 литров и шести котлов, а этот литр сока не едет и до сотки полчаса
Про секунды со светофора рассуждают в основном школьники и их собратья по разуму с Кавказа,а не БМВ потому, что в младших моделях ты буквально во всём видишь, что на тебе сэкономили - материалы как в солярисе, бедненькие комплектации, короче премиальность там и не ночевала, но при этом они рулятся, как и положено БМВ.
Аноним 19/02/26 Чтв 21:16:32 6757944 242
>>6756882
Канистра 100 стоит дороже твоего пепелаца, да и развалится он от такого топлива, как тогда ездишь, бандит? Или ты настолько блатной, что в машине только музыку слушаешь и пивасик сосешь?
Аноним 20/02/26 Птн 02:25:49 6758113 243
>>6757944
Крутые бандиты ездят на последних моделях бимеров не ниже 5. Это Степашки и прочие чухонцы пусть на старом гнилье думают как лишние 3 копейки сэкономить на бензе и запчастях с Китая.
Аноним 20/02/26 Птн 07:26:55 6758124 244
IMG5269.jpeg 3429Кб, 5712x4284
5712x4284
Аноним 20/02/26 Птн 10:30:45 6758172 245
>>6757941
>не БМВ потому, что в младших моделях ты буквально во всём видишь, что на тебе сэкономили - материалы как в солярисе, бедненькие комплектации, короче премиальность там и не ночевала, но при этом они рулятся, как и положено БМВ.

Базированная база, на которую почему то большинство закрывают глаза. У меня были и спешиал эдишн варианты и заряженыые в околомаксималке как например сейчас. это небо и земля. Я бы и со второй частью поспорил если честно тоже, потмоу что рулежка на переднеприводном х1 не равна рулежке с заднеприводной тройке или пятерке еще если на последних стоят доп опции на подвеску. То есть опять же все упирается в комплектацию.
Аноним 20/02/26 Птн 11:41:22 6758224 246
>>6758172
Тут понимаешь какое дело, сравнивать нужно сравнимое.

Если выбирать ушатанную ф30 на днищемоторе, то конечно ты сможешь на мокрой длороге пару раз махнуть хвостом, и нырнуть в поворот чувствуя массу мотора внутри базы за передней осью. Но чаще ты будешь чувстоввать пинающийся автомат, запах масла и севшие стойки с пружинами. И вот от такой аудитории чаще всего про легендарную управляемость и слышно. Обладатель M4 и 911 GT3 никого никогда не будет убеждать, что он лох и покупает телегу от мини вместо БМВ. Он просто ездит. А вот нищета обычно громче всех спорит в интернете.

По мне лучше купить свежий Mini, x1, x2 и наслаждаться машиной и подмечать ее нюансы, чем купить 10 летнюю телегу при смерти, НО БЛЯДЬ! ТРУ!!!1

Поездить пару лет и пересесть на свежую g20, а лучше g80.
Аноним 20/02/26 Птн 11:46:54 6758228 247
>>6758113
>чухонцы пусть на старом гнилье
Э, шерсть, ты чего-то имеешь против уважаемых людей на езч?
Аноним 20/02/26 Птн 11:55:57 6758233 248
>>6758172
>рулежка на переднеприводном х1 не равна рулежке с заднеприводной тройке или пятерке
Спорить не о чем, я имела в виду, что рулёжка приятная для своего класса, так-то и Х5 физически не может рулиться как компактный седан, физику не обманешь, но удовольствие от вождения у БМВ не отнять. Правда про всякие i3 не могу ничего сказать, ну это и не машина, я думала их в качестве брелока выдавали при покупке Х7.
Аноним 20/02/26 Птн 12:39:18 6758248 249
Img202602201938[...].jpeg 102Кб, 336x462
336x462
.
Аноним 20/02/26 Птн 16:44:17 6758456 250
>>6756036
Вопервых в 95 и 98 присадки, 92 чистый. Вовторых всё из одной бочки. Экономия на 92ом.
>>6756338
Диды только на таком и ездили и всё норм было.
>>6756882
Тазодаунские комплексы, Люди в сведи х6 онли 92 льют.
Аноним 20/02/26 Птн 17:38:35 6758517 251
>>6758233
>в качестве брелока

Орнул с неграмотной.
Аноним 20/02/26 Птн 19:54:21 6758627 252
>>6705637
иди умойся залетуха блять, е53 голый метал заебешься чинить
е70 ахуешь по электрике на остальное денег не хватит
думай
Аноним 20/02/26 Птн 19:59:10 6758631 253
>>6758627
ЧТо не так с электрикой у е70, и нормальная ли электрика на е70 рест? Кстати на обычной е70 моторы n52, которые не очень, а n54, как на ресте, уже получше.
мимонаблюдающий
Аноним 20/02/26 Птн 20:04:40 6758634 254
>>6713304
ты пиздун говяжий, хуйня из под ногтей, ездил на переднем - так и езди на нем уебок, не подвергай людей опасности на дорогах. если хочешь бери шоху и езди с инструктором зимой. летом всем похуй, а если зимой ты шалава подзаборная влетишь в меня без страховки - будешь отдавать натурой баля
Аноним 20/02/26 Птн 20:12:38 6758640 255
>>6758631
Чем n54 лучше? Тот же никасил, те же задиры что на н52. Плюс еще калитка на турбине любит отваливаться.
Аноним 20/02/26 Птн 20:13:47 6758643 256
>>6758631
в х5 е70 заливает задние фонари на ходу може открыться крышка багажника микросхема на колесиках
1 плюс в е70 можно найти на м57 моторе (диз)
остальные моторы либо нки либо бшки
самые лучшие это ски моторы но если хочешь нормально ездить то лучше брать е53. кузов уставший но если привезти техничку в охуенное состояние то будешь ездить до смерти(та же е 39, болячек дохуя но лучше е70)
Аноним 20/02/26 Птн 20:16:24 6758645 257
>>6758456
>Тазодаунские комплексы, Люди в сведи х6 онли 92 льют
ты че уебок
мне тебя жаль
Аноним 20/02/26 Птн 20:18:42 6758647 258
>>6758640
На 54 вальватроника нет. И по отзывам изнашивается не только он сам, но еще и распредвалы за собой тянет.
>>6758643
И до сих пор не научились лечить заливающиеся водой фары и крышку багажника? На ресте тоже эта проблема есть?
Обзоры е53 смотрел лет 10 назад, они тогда уже ржавели. Да и моторы там или слабый для такого кузова м54б30 или проблемное говно на 4.4л с 320 лошадьми, когда на n54b30 306 лошадей, при этом рядная шестерка.
Аноним 20/02/26 Птн 20:59:33 6758669 259
>>6758647
>На 54 вальватроника нет
Зато 2 турбины есть которые любят отъебывать, ах да ещё забыл про форсунки которые только с 12 раза смогли сделать нормально, чтобы они не убивали мотор нахуй.
Аноним 20/02/26 Птн 23:25:38 6758722 260
image.png 110Кб, 957x672
957x672
>>6758233
>я имела в виду
>я думала
Аноним 20/02/26 Птн 23:31:01 6758723 261
17597038331590.png 178Кб, 453x604
453x604
Аноним 21/02/26 Суб 03:00:20 6758771 262
>>6758669
Турбины дешевка, по большому счету и замена не сложная, в сравнении с вальвотроником. Ну поставить последние форсунки, в чем проблема.
Аноним 21/02/26 Суб 04:18:48 6758773 263
>>6758771
Ну вот и ставь, хули, они всего-то по пятихатке ойро за штуку. Плевое дело для тру бмвистов.

F02 750li
Аноним 21/02/26 Суб 04:32:27 6758774 264
>>6758773
Скорее всего их уже меняли, за предыдущие годы. Ну и если на деревянные это 250к, конечно многовато, но взять за 2ля машину и сунуть около 15% от стоимости в доводку, вроде и ничего.
Ну если про тру-бмвшником подразумевать того, кто берет на последние и чинится китаем, тогда конечно другое дело.
Аноним 21/02/26 Суб 08:08:40 6758789 265
>>6758228
А схуяли нищие подпивасы с завода стали уважаемыми? На них ездили уважаемые люди на момент выхода
Аноним 21/02/26 Суб 11:44:59 6758828 266
Поясните за e36 и e46 для стритсракинга. За 300к есть на автору, брать или дороже они живые стоят?
Сколько минимальные вложения еще обойдутся?
Аноним 21/02/26 Суб 12:24:17 6758848 267
image 168Кб, 644x644
644x644
Вкатился
Аноним 21/02/26 Суб 12:27:59 6758849 268
>>6758828
Для 36 маловато денег, для 46 и подавно. Вложения могут быть от нуля до плюс бесконечности. Это уж при покупке оценивай.
Аноним 21/02/26 Суб 12:48:38 6758855 269
>>6758849
А до 500-600к? За 500 нашел из-под дамы, которая видимо шарит, но не делала корча из него
Аноним 21/02/26 Суб 13:03:06 6758856 270
>>6758855
Это уже хорошо должно быть. но никто не запретит и ушат впарить, причем за любые деньги.
Аноним 21/02/26 Суб 17:44:25 6758978 271
>>6758828
Смотря какой кузов. Седаны в этих кузовах можно найти, хоть и сложно, которые даже будут передвигаться и даже с доками ровными(ну кроме ПТС, которая будет уже 5-ым дубликатом, если не 10-ым). А вот купехи за 300 даже кузов тяжело найти будет, не то что на ходу и с ровными доками. Если видишь купеху меньше полу-мульта, то даже не заглядывай, там либо Калининград, либо Минск, либо уже перекорчеванный корч на гидропалке, котрый наматывали на столб пару раз, либо по докам пизда, либо запреты на миллион, либо еще какая-нить хуета.

Дизельный самурай на Е87 М47TU2 МТ
Аноним 21/02/26 Суб 19:08:01 6759027 272
Аноним 21/02/26 Суб 19:14:36 6759029 273
>>6759027
Хуясе. Если с черной реально все так, как описано, то надо брать еще вчера.

Дизельный самурай на Е87 М47TU2 МТ
Аноним 21/02/26 Суб 19:38:59 6759035 274
>>6759027
>>6759029

Знал одного деда, так он на е30 купе ездил. Я ему комплимент сделал, мол, ведро что надо, он молча капот открывает, а у деда-то шесть котлов. И салон клетка вроде. Вот это я понимаю
Аноним 21/02/26 Суб 21:27:11 6759099 275
>>6759029
Смысл брать беху которую Солярис объедет?
Аноним 21/02/26 Суб 22:26:25 6759139 276
17600566237591.jpg 299Кб, 719x520
719x520
2489616.jpg 212Кб, 960x960
960x960
>>6759099
Бнв всегда было и будет говном, а камаз, тазы и солярис валят!
Аноним 21/02/26 Суб 23:05:22 6759163 277
>>6759099
На корч же донор, алло.

>>6759029
Вот тоже думаю, что пора. Жаба душит конечно, но как вторую тачку можно в принципе, если потом сбагрить протюненную получится.
Аноним 21/02/26 Суб 23:07:32 6759166 278
>>6759035
>а у деда-то шесть котлов. И салон клетка вроде
Звучит охуенно. Буду таким дедом значит тоже.
Интересно, насколько за жопу могут взять, если не оформлять каждое изменение в ГАИ
Аноним 21/02/26 Суб 23:10:41 6759171 279
>>6759029
Еще чет подумал, что жалко такую будет красить даже. А хотелось первым делом подкрасить (ну или в пленку тогда обтянуть), добавить свет снизу и фары лютые
Что еще можно с ней сделать прямо такого оргазмического, если не выкидывать все сиденья и не переваривать в клетку?
Аноним 21/02/26 Суб 23:28:08 6759175 280
>>6759163
Ну хуй знает. Мне за строкер 3.2 объявляли ценник 350 еще в 2к21. Это без работы по свапу. Проще сразу бюджет увеличить до 700.
Аноним 22/02/26 Вск 01:38:21 6759208 281
изображение.png 613Кб, 720x480
720x480
>>6759166
Ну клетка я имею в виду клетчатый. Пятьдесят лет назад у мемцев это считалось спортивным. У деда того тачка на каждый день. Он мне машину переваривал
Аноним 22/02/26 Вск 01:48:11 6759211 282
аа.png 303Кб, 960x720
960x720
>>6759208
Года 3 назад на лохито в моем мухосранске продавали сиденья и карты от м5, тряпичные, со своеобразной расцветкой, как на пикче, за 12к. Думаю да нахуй оно мне надо, вроде недорого, но у меня и так все норм, а перепродажей ебал заниматься. Теперь они 120+ стоят, лол.
мимонаблюдающий езч-кун
Аноним 22/02/26 Вск 11:49:57 6759291 283
-52467656573726[...].jpg 127Кб, 922x922
922x922
-52467656573726[...].jpg 183Кб, 922x922
922x922
-52467656573726[...].jpg 120Кб, 922x922
922x922
1000048901.mp4 10342Кб, 1000x1000, 00:00:08
1000x1000
Чому ещё не бiло?

> BMW разорвало пополам — три человека погибли в жуткой аварии в Ростове-на-Дону.

> Удар был такой силы, что машину буквально разнесло на две части: в салоне находились пять человек, трое из них погибли.

> Подробности страшной аварии:

> — По данным местных СМИ, компания отмечала в Ростове день рождения. Среди приглашённых был полицейский, который после застолья решил подвезти близких;

> — В машине помимо водителя была супружеская пара, девушка и ещё один парень;

> — В пути водитель превысил скорость, не справился с управлением и влетел в столб. Полицейский и супружеская пара погибли.
Аноним 22/02/26 Вск 12:42:15 6759317 284
>>6759291
> — В машине помимо водителя была супружеская пара, девушка и ещё один парень;
Куколд на БМВ.
Аноним 22/02/26 Вск 12:51:38 6759327 285
>>6759291
На какой скорости они ехали, что столб машину на две части распорол?
Ну а так пьяное быдло в погонах не жалко.
Аноним 22/02/26 Вск 19:19:55 6759535 286
>>6759211
Инфляция из-за макана кек
Аноним 22/02/26 Вск 19:45:36 6759554 287
>>6759535
На тот момент по авито они 30-40 стоили, а 12 это прям дешево было. Теперь цены вообще ебанулись.
Аноним 23/02/26 Пнд 20:00:05 6760096 288
Братва, у ешек 90,92 и тд, коробка не зф которая норм по езде? Шустро откликается и сильно ли тупит? Посматриваю на ешку, про коробку ниче не знаю. И чипуется ли она как зф?
Аноним 23/02/26 Пнд 20:06:17 6760100 289
video.mp4 2429Кб, 1152x720, 00:00:18
1152x720
Аноним 24/02/26 Втр 02:09:21 6760269 290
>>6760096
Я не знаю на каких Е9х будет не ЗФ 6хп, но единственная что ставили помимо этого была на дрызолях a5s-390, она же гмовская 5л40-е. В целом хороший коробас, у меня 39 дизель была с ним. Довольно надежный, но 5 ступеней, жутко длинный и тупой ( еще бы, он ваще от кадиллака). Хз или есть ли готовые прошивки, мне моменты включения шили онлайн как и пихло в свое время, стало сильно лучше. Так что думаю любой грамотей тебе его подтянет, если будет необходимость. С зч еще в 18-19 году были уже проблемки. Сейчас наверное проще коробас уже поменять.

F02 750li
Аноним 24/02/26 Втр 04:55:43 6760283 291
Меня конкретно подзаебало обслуживание КВКГ на M47, хорошего качества не дешевые, да и разобрать надо пол машины нахуя ты купил бмв хаха
Есть мысль убрать нахуй клапан и поставить маслопомойку - oil catch can, просто сливать раз в неделю накопившееся и доливать свежее в двигатель чуть побольше, все лучше чтобы это дерьмо лилось обратно в двигатель.

Где я живу минус бывает редко и небольшой, так что не замерзнет. Сапун уходит прям перед турбиной, так что сильно не скажется на качестве отвода газов.

Что анон думает по этому поводу? Может сразу кто порекомендует какую маслопомойку купить на али или амазоне?
Аноним 24/02/26 Втр 06:07:39 6760289 292
>>6760283
Был у нас тип у которого был билд на 500+ сил на двух турбовом м57. Там помойка была точно, фирму не знаю. Но он та говорил что если мотор шить то квкг стоковый ваще никак не справляется и помойка обязательна.
F02 750li
Аноним 24/02/26 Втр 10:58:38 6760395 293
>>6759291
Боюсь представить че за скорость там была, е60 так то оч крепкое авто.
Аноним 24/02/26 Втр 13:56:26 6760491 294
>>6760269
А, ну скорее всего я тут не доконца шарю. А 6хп зф нормальная в плане тупости? Шьется тоже получается?
Аноним 24/02/26 Втр 23:49:00 6760949 295
bmw-e65-745ia.jpg 164Кб, 1575x1050
1575x1050
>>6760491
Зф она же электронная, шьется конечно, на нее можно накатывать всякие альпины и тд
Аноним 25/02/26 Срд 01:42:56 6760978 296
>>6760491
6HP ставилась на все подряд лет 10, туда что угодно уже можно зашить в зависимости от твоих хотелок, да и ремонтируется она нормально, запчастей полно, потому что она буквально во всех немцах кроме мерсов стояла.
>>6760949
Странная все таки машина е65. Вроде смотришь на нее, ну страх пиздец. Но шарм все таки какой-то в ней есть.

F02 750Li
Аноним 25/02/26 Срд 09:18:20 6761038 297
>>6760978
А у тебя на ф02 выходит в8 стоит, 63, который по слухам пипец какой ненадежный? Расскажи про эксплуатацию и какой пробег. Бензин сотый заправляешь? Сколько кушает? Тяга с низов небось ебейшая, приятно ездить...
Аноним 25/02/26 Срд 19:49:57 6761466 298
bmw-745-47.jpg 194Кб, 1575x1050
1575x1050
>>6760978
>Но шарм все таки какой-то в ней есть.
Есть да. Особенно когда понимаешь что на её базе фантом сделан, после того как их бмв купил.
Аноним 25/02/26 Срд 22:26:38 6761581 299
Джордж Викихау [...].mp4 2957Кб, 1280x720, 00:00:12
1280x720
Аноним 26/02/26 Чтв 01:34:44 6761687 300
>>6761038
Да, н63ту уже, она 13го года. пробег 229к сейчас. В целом все отлично, зч есть, цена умеренная, не сказал бы что он прям ЛОМУЧИЙ. Я за 2 года из поломок то поменял фазик один на 2й голове и трубки на маслорад в крыле. Его трабла в том что работа очень дорогая, там чтобы в любое место залезть- скидывать кульки надо а это та еще ебала на пару часов. Тоесть если его делать- то делать все до чего можешь добраться за раз и все. На работу не иронично идет больше чем на зч, но типа, терпимо. Едет ебейше. У меня пайпы, стейджа нет но отшит на евро2. Орет, турбы свистят уже на 1.2к обр, тянет как паровоз с любых оборотов и вплоть до 220+. Типа по езде мотор великолепный, напоминает мне н55 только жрет 23+- зимой, лол. Та у меня брала 18.5. Ну и маслецо он чутка да хавает больше чем н55. В моем случае около литра на 5к, но датчик брехливый шопизда. В целом если есть бабки то рестовый н63 спокойно можно брать и с кайфом передвигаться, ни секунды не пожалел.
F02 750Li
Аноним 26/02/26 Чтв 09:49:35 6761723 301
>>6761581
Тебе сколько лет, 18 хоть исполнилось, в автошколу уже записали родители?
Аноним 26/02/26 Чтв 10:58:00 6761761 302
>>6761723
Обоссаный, не визжи. 32 неплохой кузов, 38 прям красивый, 65 уебище и внутри и снаружи; ф01 уебище снаружи, но уже хорошо в салоне; дальше модели рвотного рефлекса не вызывают. Но блядь 65 это просто блевотина из палаты мер и весов, что снаружи блевать охота, что внутри.
Аноним 26/02/26 Чтв 11:01:38 6761764 303
>>6761761
Как ты на тетрадках салоны то рассмотрел школотун?
Аноним 26/02/26 Чтв 22:11:23 6762174 304
>>6761687
реакция на педаль газа шустрая? 95 наверное не жрет или норм? видел чела в инсте slavakotov - у него х5, свапнутым 4,4 вроде, так он 95 льет и не парится и пробеги у него не хилые
Аноним 27/02/26 Птн 03:34:24 6762239 305
>>6762174
Шустрая только в спорте. В комфорте и тем более к+ это все еще семерка, ей не очень хочется куда-то ехать скидывая передачу. Ну и если она скинет две- она тупо срывается в букс на любом покрытии, там так то почти 700 номов момента, она может перманентно ехать боком, задние колеса расходник для нее- два года и на выброс. Я заливаю 95+б реже 100. Хавает норм, едет так же норм. На дальняки обычно лью 100. Ну и раз в год заливаю промывку инжектора обязательно.
F02 750li
Аноним 27/02/26 Птн 10:40:54 6762406 306
Аноны, думаю о покупке корыта, в бюджет до 2 млн рублей. Моча бьет в голову и очень понравилась BMW 1 F57 120i 22-23х годов, это тот который седан из Китая. В стоимость обходится в пределе 1.8 млн с пробегом около 20к км.

Скажите мне дураку, правда, что реальные траты на ТО и поломки даже в нынешних реалиях в неоф сервисах и с китайскими запчастями - выходит прям сильно дороже условного вольксвагена или корейка аля хендаи?

Надежность в целом какая у подобных копеек беспробежечных, все таки по классу автомобиль больше для нищих, неужели там обслуга как у высшего класса бмв?
Аноним 27/02/26 Птн 15:22:19 6762765 307
79xRzNIfD02REqV[...].png 911Кб, 1500x780
1500x780
>>6762406
>BMW 1 F57
57 это мини, ты хотел сказать 52

>траты на ТО
Стандартное масляфильтровое ТО на пятерке бмв г30 с двухлитровым двигателем с оригинальными запчастями обойдется в приличном сервисе тысяч в 18. Я в 2013 году официалам больше за ТО платил.
Аноним 28/02/26 Суб 02:41:06 6763047 308
обдрейнился.mp4 1139Кб, 448x352, 00:00:21
448x352
>>6762406
> бемельве
> мордопривод
Аноним 03/03/26 Втр 00:15:23 6764627 309
>>6762406
Зачем лезть во все приколы бмв если это передний привод, будешь как на октавии кататься, а обслуживать как настоящую бмв
Аноним 03/03/26 Втр 04:45:42 6764649 310
за М5G90 дам в жопу
Аноним 03/03/26 Втр 05:56:01 6764655 311
>>6764627
>а обслуживать как настоящую бмв

Шизик, БМВ этого уровня и обслуживается по цене Октавии.
Аноним 03/03/26 Втр 16:16:51 6764870 312
Аноним 04/03/26 Срд 08:07:12 6765147 313
>>6764870
Блядь, дурак, что там дороже обслуживать будет.
Аноним 04/03/26 Срд 11:52:09 6765248 314
>>6765147
Как пример - не слышал, что на октавиях коробка падает в аварию, если есть ошибка по вентилятору радиатора или она отключает печку, если считает, что аккумулятор недостаточно заряжен (зимой особенно классно). В любой БМВ электроника идет на уровне старших моделей, за исключением тех функций, которых нет. Ясное дело ТО в гараже с заменой масла и фильтров будет +- одинаково стоить, но если копнуть глубже, то разница, конечно будет.
Аноним 04/03/26 Срд 13:51:07 6765302 315
>>6765248
>Как пример - не слышал, что на октавиях коробка падает в аварию, если есть ошибка по вентилятору радиатора или она отключает печку, если считает, что аккумулятор недостаточно заряжен (зимой особенно классно)

А обслуживание здесь причем, дурак блядь.
Аноним 04/03/26 Срд 14:23:14 6765309 316
Аноним 04/03/26 Срд 14:31:18 6765313 317
>>6765309
Дурак блядь, ты привел два примера как БМВ ведет при определенных ошибках, при этом как-то привел это к дорогому обслуживания. Или типа если Октаха мне через полчаса кинет ошибку по перегреву коробки из-за неработающего вентилятора мне типа легче будет?
Аноним 04/03/26 Срд 14:55:49 6765326 318
аа.png 146Кб, 960x540
960x540
Сап, бмвач. Тут мы с товарищем рассуждали на тему плюсов рядной шестерки в сравнении с рядной четверкой. ну минусы ладно, больше свечей, свечных катушек, колпачков, форсунок, на случай ремонта поршней, колец, клапанов, гидрокомпенсаторов и пр.
А вот именно плюсы, то, что вибраций нет, то, что подхват ровнее за более частых вспышек, это понятно. А что насчет охлаждения и прогрева? Ну понятно, что это все в вакууме, допустим двухлитровый м50 сравнить с неким двухлитровым четырехцилиндровым, без турбины, с 4клапанами на цилиндр и пр. Насколько верный тезис, что прогреваться рядная шестерка будет лучше и в целом печка будет работать лучше за счет большей поверхности стенок цилиндров? Ну и охлаждение по тем же причинам будет лучше? А то по отзывам даже дизельные е34 на 6 цилиндров вполне себе во сяких мурмансках ездят и в салоне жара всю зиму. Или причина не только в количестве горшков?
Аноним 04/03/26 Срд 15:33:48 6765367 319
>>6765313
Да, ты тупой, вентилятор радиатора охлаждает ОЖ двигателя, а не коробки
Аноним 04/03/26 Срд 15:38:44 6765371 320
>>6765367
А, ну т.е ситуация еще смешнее. Типа БМВ не дала мне зажарить мотор и кинула коробку в аварию. И это типа делает езду на ей дороже, чем на Октахе. Дурак блядь.
Аноним 04/03/26 Срд 15:41:26 6765374 321
>>6765371
Ты слишком тупой, неизлечимо
Аноним 04/03/26 Срд 15:46:02 6765378 322
>>6765374
Ну до уровня твоего уровня интеллекта, где дополнительная возможность перегреть мотор из-за неработающего вентилятора воспринимается как плюс позволяющий дохуя экономить на обслуживании, мне еще топать и топать действительно. Дурак блядь
Аноним 04/03/26 Срд 15:50:13 6765380 323
>>6765367
А разве кассета радиаторов не одно целое, что один за другим идут все радиаторы - коробки, кондера и антифриза? И все обдуваются как потоком воздуха от движения, так и вентилятором, а то и несколькими? И при возникновении необходимости, пусть там перегрев чего-либо или включение кондера, вентиляторы включаются?
мимонаблюдаю
Аноним 04/03/26 Срд 15:53:16 6765384 324
>>6765380
Ну чтобы в кассете был радиатор коробки, я не встречал, но у меня лично все машины с механикой были. м.б и есть такие
Аноним 04/03/26 Срд 15:59:46 6765392 325
>>6765384
Ну например на е34 на прындлах уже радиатор акпп был. И чуйка у меня, что на более современных моделях тем более охлаждение было. Да и вы вроде про ошибки по перегреву коробки говорите, вроде как очевидно, что скорее всего по автомату это будет, т.к. работа бублика и пр, а не по механике.
Аноним 04/03/26 Срд 16:01:10 6765393 326
>>6765392
Я полез гуглить, и как я понял БМВ таким образом решил не дать тебе вскипятить мотор ненужным сракингом.
Аноним 04/03/26 Срд 16:04:27 6765394 327
>>6765393
Я не знаю, что ты там понял, просто говорю, как есть, на прындлах там давным-давно стоят радиаторы на коробку. И о чем вообще спорите, я хуй понял, по ходу просто говном кидаетесь.
И насчет мотора, на тех же е34 стоит вискомуфта, и при наличии кондера там вентилятор кондера есть, но если мотор перегревается и вискомуфта не справляется, включается еще и радиатор кондера в помощь.
Аноним 04/03/26 Срд 16:06:59 6765396 328
>>6765394
Ну типа на современных БМВ дополнительная защита от дурака, какое это отношение к стоимости обслуживания имеет я сам не понял.
Аноним 04/03/26 Срд 16:10:55 6765400 329
>>6765396
Ну е34 начала выпускаться в 88м. Не считаю это защитой от дурака, например вискомуфта может сдохнуть, жара быть аномальной и пр. А насчет обслуги я ничего не скажу, выше не я писал, да и какая разница. Изначально, как по мне, должен быть подход такой, что какая тебе машина нравится, изучить ее стоимость обслуги и уже думать, нужно ли оно тебе. Да и сильно большого разброса там думаю не будет, чтобы прям в 1.5 или два раза, ну если не брать большеобъемные моторы или прочие спортивные версии.
Аноним 04/03/26 Срд 16:15:39 6765404 330
>>6765380
На моей стоит отдельный небольшой теплообменник, я думаю размер и место установки радиатора коробки зависит уже от общей мощности авто, производитель же в любом случае оптимизирует производство
Аноним 04/03/26 Срд 16:19:34 6765408 331
>>6765400
> Не считаю это защитой от дурака

Я имею ввиду, что машина кидает коробку в аварию, и не дает тебе ехать в обычном режиме до устранения проблемы.
Аноним 04/03/26 Срд 16:23:03 6765411 332
>>6765404
И тот теплообменник не подпадает под действие вентилятора системы охлаждения?
>>6765408
Почему от дурака? От неполадки, к примеру. И не вижу ничего плохого. И чует мое сердце, но на всех современных машинах есть эти защиты.
Аноним 04/03/26 Срд 16:26:29 6765414 333
>>6765411
От неполадки было бы достаточно просто чек зажечь и вывести на экран сообщение о проблемах с охлаждением и требованием ехать в сервис. А именно врубать аварийный режим, это чтобы долбаеб на водителе реально не догадался ехать как ему нравится и вскипятить мотор. Я тоже считаю, что такое только в плюс.
Аноним 04/03/26 Срд 16:29:15 6765417 334
>>6765414
Водитель может не увидеть, а может и правда быть дураком. Я не против таких ограничений.
Аноним 04/03/26 Срд 16:35:36 6765423 335
>>6765417
Ну к чести мемцев, они даже о нехватки омывайки оповещают так, что хуй знает как просмотреть. Вот на Япе у меня друг реально умудрился мотор перегреть из-за смерти реле вентилятор т.к у машины бло ноль предупреждений о высокой температуре ОЖ, просто стрелка в красную зону ушла а он наваливал вечером и проебал.
Аноним 04/03/26 Срд 17:31:21 6765466 336
>>6765326
>вибраций нет
Вообще-то есть, бензин у БМВ работает как дизель почему-то.
Аноним 04/03/26 Срд 17:34:41 6765470 337
17118285969970.jpg 215Кб, 994x880
994x880
Аноним 04/03/26 Срд 18:33:12 6765488 338
>>6765466
Вот кстати многие пугаются звука моторов в e серии типа n45/46, а там просто форсунки громко цокают, ничего такого
Аноним 05/03/26 Чтв 02:03:20 6765675 339
>>6765326
Ну здарова, меченый. Чем больше котлов- тем быстрее прогрев это верно. Все же тепловыделение гораздо выше. НО, как правило печные радиаторы во всем модельном ряду, вне зависимости от пихла одинаковы, как и конденсеры кондея. Фишечка тут в том, что у бмв ебейшая логика работы этой самой печки, а не сама печка как такая. бэхи всегда в авто режимах дуют в ноги и всегда включают кондей, осушая воздух. Поэтому в них тепло и запотивают они значительно меньше других. На моем опыте с авто режимом в бмв, когда он действительно вообще не требует вмешательства сравнится только меркедес. Ничто остальное даже близко не приближается, ни ваг, ни тойола с лехусом, ни электрички, прости Господи, а поездил я теперь уже на дохрена машинах разных сегментов. Никакого супер секрета нет, просто грамотная настройка и логика работы. Ну и шо в мерке что в бэхе на 4х зонном климате есть электро тен, для ускорения прогрева. Я круглый год езжу на 21 авто с включенным кондеем, ингда летом меняя на 19, если пиздец жарко. Все, больше ваще никогда не трогаю климат. Вот еще, что мое 4.4 что леха ЛХ на 5.7 со стеклопакетами- оба в -20 и ниже начинают подмерзать по боковым стеклам сзади, там уже ничего не хватает.

F02 750li
Аноним 05/03/26 Чтв 10:16:40 6765761 340
Принимайте пополнение. Купил 420D G22.
Аноним 05/03/26 Чтв 14:49:03 6765934 341
>>6765761
Меганоздри не бесят?
Аноним 05/03/26 Чтв 20:33:22 6766155 342
Аноним 06/03/26 Птн 13:58:10 6766498 343
Аноним 06/03/26 Птн 14:54:47 6766542 344
>>6765761
Зачем ты так сделал?
Аноним 13/03/26 Птн 13:51:29 6771042 345
Михаил Круг фра[...].mp4 14795Кб, 640x360, 00:02:39
640x360
Не тонем, господа, не тонем.
ало Аноним 13/03/26 Птн 18:56:57 6771263 346
а чё бмв тред сдох что-ли?
Аноним 13/03/26 Птн 18:58:14 6771265 347
>>6771263
У дырявого школьника ОПа выпал пролапс, а езч сгнила совсем. Вот и все.
Аноним 13/03/26 Птн 18:59:32 6771266 348
>>6760269
привет анон
у меня была е90 рест 320i, калининаград сборка(что важно!), у меня стояла GM 6L45R, к слову, насиловал ее здраво, отжила - идеально.
но мысли по свапу на зф посещали регулярно, или на меху gs6, но я ее продал и взял f10 на n20 с 8hp45, и, в целом, счастлив. за миллион рублей считаю, более лучшего варианта и не придумать
великий n20 Аноним 13/03/26 Птн 19:04:49 6771271 349
чё думаете аноны, стоит-ли шить стоковый n20 на 520i до уровня прошивки 528i + даунпайп? или лучше не лезть в эти дебри и сидеть на жопе ровно.
p.s про разницу поршней - знаю, про разность сж соответственно тоже, интересуют понимающие люди и имеющие в этом опыт. сам непосредственно занимаюсь разбором бмв более 6 лет, но до сих пор какого-то более менее конструктивного ответа на вопрос не нашел - выручайте
Аноним 14/03/26 Суб 00:11:51 6771383 350
>>6771271
>n20
Че он как вообще? Я думаю 320 купить, но присматриваюсь больше к 320d. Говорят, мол, b48 еще пойдет, а n20 вообще гроб-гроб-кладбище-пидор
Аноним 14/03/26 Суб 03:18:32 6771405 351
Хочу купить x3. Какие версии порекомендуешь? Бюджет есть, но не бесконечный. Бу можно, но я ваще нихуя не разбираюсь в проверках. Посмотрел фотки 25/26 выглядят как китайский кал.
Аноним 14/03/26 Суб 03:32:07 6771408 352
Аноним 14/03/26 Суб 14:10:29 6771640 353
>>6771405
40д или 40i что б с шиком
30д дефолт стандарт
Бюджет на бу 4.5+ там и битки и наши рф примерно 70/30 в разных регионах стабильно всплывают даже зимой
Начал их смотреть после обсера с рынком м340… из иксов прям есть что копать, м340 одна америка или немчура скрученная… Но все ещё надеюсь на седан
Аноним 14/03/26 Суб 14:14:46 6771642 354
>>6760096
Нет, не чипуется
Gm там
Можно ещё поставить 8хп на эту древность)
Аноним 14/03/26 Суб 14:20:55 6771646 355
Тогда уж пользуясь случаем, есть тут, кто в недавнем прошлом искал м340, но забил/обосрался/не нашёл? Каких конкурентов смотрели или взяли? Всплывают только х4.. s4… 440 в ф кузове…
Аноним 14/03/26 Суб 14:22:28 6771647 356
еще успеем.mp4 1517Кб, 480x518, 00:00:18
480x518
>>6771646
>искал м340, но забил/обосрался/не нашёл
Ну потом, когда-нибудь, успеем еще...
Аноним 14/03/26 Суб 14:34:13 6771651 357
>>6771646
Товарищ искал весной прошлого года. В итоге забил и летом купил 540i G30 дорест.
Аноним 14/03/26 Суб 15:54:03 6771690 358
>>6771651
Да пятёрок намногооооо больше выбора
И переодетые в рест (битки 90%)
Они и богаче… люто горит с того, что в g20 нет задней шторки.. сука бомжи - очень нравится тема от ублюдков с ксеноном, т.к не люблю тонер, в круг 50% кроме лба сделал, даже на е90 была
Но по мне пятерка больше в чилл тяготит, при том что у них масса одинаковая почти!… ахуеть 3 и 5…
Аноним 14/03/26 Суб 19:04:20 6771747 359
>>6771690
Да, ты прав. Пятерка слишком канфортная. А чем тебя затеняющееся зеркало не устроило?
Аноним 14/03/26 Суб 19:09:40 6771748 360
840 grancoupe просто секс....
грустно что рф нищая и грязная. пиздец щас гшрязухи на улице... охуеть... хочеца в швецарию или словакию
Аноним 14/03/26 Суб 19:10:17 6771749 361
м140 2015-2020 тоже топ но цена неадекватная
и еще джереми кларсон на ней чуть не убился задний привод опасен
Аноним 14/03/26 Суб 21:22:05 6771813 362
Аноним 14/03/26 Суб 21:25:51 6771817 363
>>6759027
Ебать говноед!
>>6759139
Двачую
>>6759291
Они так размножаются, как черви. Был один червяк, а стало 2
великий n20 Аноним 14/03/26 Суб 22:11:51 6771837 364
>>6771383
Да неплох, честности ради... N20 все крайне хаяли, в итоге, у меня пробег 250 - первая замена цепи за 12 лет после первого хоза на меня выпала(хотя регламент 180))), из проблем вестгейт турбины, да и собственно все. За ним просто нужно следить, самое больное на нем - цепь и турбина как раз, хотя в рестайлинге, где электро актуатор идет, уже всё ок вполне себе. Лить просто не лукойл(хотя против ничего не имею, сам лил в е90 на н46 его), а ликви молли, что я и делаю, топтек 5/30 с допуском лонглайф 3 и 95 бензин как минимум(главное не сотый на стоке, это не лучшая затея в чистую, если только размешивать с 95 на половину в идеале). N47 тоже неплох, но с текущей ценой самой машины, цены на солярку и обслуживание последующее, как например форсунки, егр, тнвд, датчик давления в рампе и прочие приколы, цепи тоже при плохом варианте, но это скорее исключение, но это больно, они в отличии от N20 стоят у него сзади. Тащемта, дизель - круто, но хз, бензин практичнее и проще, и имхо, едет интереснее за счет отсечки.
Аноним 14/03/26 Суб 22:23:18 6771842 365
>>6771837
>ликви молли, что я и делаю, топтек 5/30 с допуском лонглайф 3 и 95 бензин
Вернись в тазотред.
Аноним 14/03/26 Суб 23:08:16 6771893 366
>>6771747
Фотохром как бы ок
Но ему нужен свой определенный угол попадания
Не обязательно сзади едет уебок, может ехать обычный спринтер-транзит, а тройка и так не самая высокая даже на бомже и -30 прокит стоит, в итоге такие бусики тоже бьют светом, даже пока сработает хром…
Аноним 14/03/26 Суб 23:14:38 6771903 367
>>6771749
Да уже когда б58 просто поставил в поиск
Выпадает и 140 и 240… при чем 240 (ф) были прям под кольцо сделанные… и рекорд быстрому б58 на сток железе принадлежит карельской двойке
Но как-то не серьёзны они студенческие какие-то)) хз… и мелкие сами по себе, как на выходной день
Поэтому на поджопный повседнев опять нет ничего юзабельнее тройки…
Аноним 15/03/26 Вск 00:30:49 6771947 368
Аноним 15/03/26 Вск 03:23:02 6772004 369
>>6771837
> главное не сотый на стоке, это не лучшая затея в чистую, если только размешивать с 95 на половину в идеале
Каво?
Аноним 15/03/26 Вск 14:05:08 6772425 370
>>6750981
Туринг красивый. В Германии по 15к евро продаются.
Аноним 16/03/26 Пнд 10:19:31 6772857 371
IMG5895.jpeg 244Кб, 1320x1137
1320x1137
>>6764627
Вот цена за большое то с заменой свечей, масел в акпп и халдексе. Хуй знает много или мало сейчас. По мне так норм.

X2 m35i
Аноним 16/03/26 Пнд 11:50:24 6772893 372
>>6772857
Мне нравится, как они сраный бардаль продают по цене мотюля. В целом, я бы не стал обращаться к этим смертникам, которым настолько похуй на используемую номенклатуру в отчётности.
Аноним 16/03/26 Пнд 20:08:59 6773129 373
>>6772004
размешать 100 бензин вместе с 95, чтобы получить средне-высокую октановую смесь, если чистый сотый - прощай клапана и поршни если ездить ежедневно
Аноним 17/03/26 Втр 09:13:01 6773326 374
>>6772857
А почему свечи по 3500 если они везде в районе 2 стоят?
Аноним 17/03/26 Втр 10:18:59 6773354 375
>>6773129
Ссылку на заправочку с "чистым сотым" не подкинешь?
Аноним 17/03/26 Втр 10:35:45 6773360 376
image.png 64Кб, 1439x534
1439x534
>>6773326
Потому что там не просто b48, а m-perfomance на 306 л.с.
Аноним 17/03/26 Втр 12:31:42 6773418 377
Аноним 17/03/26 Втр 13:22:07 6773443 378
>>6773418
Чел, ну ты предлагаешь мне где-то что-то заказать, ездить забирать или просто в своем сервисе договориться на удобную мне дату и за три часа сделать ТО, даже переплатив 10 тысяч?
Аноним 17/03/26 Втр 15:22:51 6773582 379
>>6773443
Нет ты просто представил их как мега пупер бупер свечи ультра ферари м перфоманс, а там просто свечи ngk для б48.
Аноним 17/03/26 Втр 21:45:34 6773861 380
Без имени.jpg 53Кб, 1376x329
1376x329
>>6773582
Ну не совсем. На m-performance модели ставят другие свечи. Но спасибо за наводку на сайт. Действительно дешевле.

Проверенные?
Аноним 18/03/26 Срд 00:35:30 6773972 381
>>6773360
Не понимаю что мешает хомякам покупать богоподобные 97506, гапать в 0,60, а лучше 0,55 и ебашить на полную, даже без стейджа.
F02 750li
Аноним 18/03/26 Срд 10:23:17 6774074 382
>>6773861
Там все оригинальное даже масло xD
Аноним 18/03/26 Срд 13:55:29 6774158 383
>>6773972
>Не понимаю что мешает хомякам покупать богоподобные
Жлобом завоняло. Прям сочным таким, пузатым жлобом.
Аноним 18/03/26 Срд 15:45:18 6774255 384
>>6774158
У него 20 летняя некрочинушевоз. Нам не просто завоняло. Там смердит.
Настройки X
Ответить в тред X
15000
Добавить файл/ctrl-v
Стикеры X
Избранное / Топ тредов